·àÃĤ«¤é¤Ã¤«¤¼ ºÂ³Ø»ñÎÁ¡ÖÉñÂæ¾ÈÌÀ¡×2001.05.20Âè»°ÈÇ
written by Sin Hirai

¡á¡á¡¡Ìܼ¡¡¡¡á¡á

¡¡¢¢¡¡ÍýÏÀÊÔ

£±¡¥¤á¤¯¤ë¤á¤¯´±Ç½¤ÎÀ¤³¦¤Ø
¡¦¤¢¤Ê¤¿¤Î²áµî¤ò¶µ¤¨¤Æ
£²¡¥¤½¤³¤¬´¶¤¸¤ë¤È¤³¤í
£³¡¥¤¢¤Ê¤¿¤ÎÀ­³Ê¤òÃΤꤿ¤¤
£´¡¥¿§µ¤¤¿¤Ã¤×¤ê
£µ¡¥¤¦¤·¤í¤«¤é¤Þ¤¨¤«¤é¤É¤¦¤¾
£¶¡¥·¯¤ÎÆ·¤Ï£±£°£°Ëü¥Ü¥ë¥È
£·¡¥¤Ï¤¸¤á¤Æ¤Ê¤Î

¡¡¢¢¡¡µ¡´ïÊÔ

£±¡¥¹¥¤­¤Ê¤¢¤Ê¤¿¤Î¤¿¤á¤Ê¤é¤Ð
£²¡¥·¯¤Î̾¤Ï
£²¡Ý£±¡¥ÃË¡©½÷¡©
£²¡Ý£²¡¥¥É¥ì¥¹¥¢¥Ã¥×
£³¡¥Ìó«¡Ê¥Ç¡¼¥È¡Ë¤Î¾ì½ê¤Ï
£´¡¥»ä¤ÎÁ´¤Æ¤òÃΤäÆ

¡¡¢¢¡¡¥Æ¥¯¥Ë¥Ã¥¯ÊÔ

£±¡¥¤¦¤Õ¤ó¡¢¥Æ¥¯¥Ë¥·¥ã¥ó
£±¡Ý£±¡¥¤¢¤Ê¤¿¤ÎÁ´¤Æ¤¬¤Û¤·¤¤
£±¡Ý£²¡¥¿§ÃË¡¢¶â¤ÈÎϤϤʤ«¤ê¤±¤ê
£±¡Ý£³¡¥¥é¥Ö¥ì¥¿¡¼¡¦¥Õ¥©¡¼¡¦¥æ¡¼
£±¡Ý£´¡¥»°³Ñ´Ø·¸
£±¡Ý£µ¡¥¤½¤Îµ¤¤Ë¤µ¤»¤ëÊ·°Ïµ¤¤Ë
£±¡Ý£¶¡¥¤¢¤Ê¤¿¤´¤Î¤ß¤Î»ä¤Ë¤·¤Æ
£²¡¥ÆùÂÎÇÉ
£²¡Ý£±¡¤µ¤»ý¤Á¤ò³Î¤«¤á¤Ê¤¯¤Ã¤Á¤ä
£²¡¼£²¡¥Ç®¤¤´ãº¹¤·
£²¡Ý£³¡¥ÁÛ¤¤¤ò¤¦¤ÁÌÀ¤±¤è¤¦
£²¡Ý£´¡¥¤æ¤ì¤ë¿´
£²¡Ý£µ¡¥·×²è¤òΩ¤Æ¤Æ
£²¡Ý£¶¡¥¹Ôư¤¢¤ë¤Î¤ß
£²¡Ý£·¡¥¤É¤³¤¬´¶¤¸¤ë¡©
£²¡Ý£¸¡¥¤³¤ì¤Ç´¶¤¸¤ë¡©
£²¡Ý£¹¡¥¶»¤¬¥É¥­¥É¥­
£²¡Ý£±£°¡¥¼ã¤¤¤Î¤Í
£²¡Ý£±£±¡¥¥¤¥¯¤È¤­¤Ï°ì½ï¤Ë

¡¡¢¢¡¡¼Âµ»ÊÔ

£±¡¥¿¨¤Ã¤ÆÎɤ¤¤è
£±¡Ý£±¡¥¤ä¤µ¤·¤¯¤·¤Æ¤Í
£±¡Ý£²¡¥Â礭¤¯¤Ê¤Ã¤¿¤ê¡¢¾®¤µ¤¯¤Ê¤Ã¤¿¤ê
£±¡Ý£³¡¥Á´¤Æ¤¢¤Ê¤¿¤Î»×¤¦¤Þ¤Þ
£²¡¥ÌÀ¤«¤ê¤ò¾Ã¤·¤Æ
£²¡Ý£±¡¥£´£¸¼ê
£²¡Ý£±¡¥¿§»ö»Õ
1999.04.05 ½éÈÇ
2001.05.20Âè»°ÈÇ
¡öËܽñ¤ÎÃøºî¸¢¤Ï¡¢·àÃĤ«¤é¤Ã¤«¤¼¤Ë¤¢¤ê¤Þ¤¹¡£ÌµÃǤǤΰúÍÑ¡¢¥³¥Ô¡¼¤ò¶Ø»ß¤·¤Þ¤¹


¥Û¡¼¥à¥Ú¡¼¥¸ |Ìܼ¡ |¼¡¹àÌÜ |¼¡¾Ï

ÍýÏÀÊÔ


¥Û¡¼¥à¥Ú¡¼¥¸ |Ìܼ¡ |ËÜ¾Ï¥È¥Ã¥× |¼¡¹àÌÜ |¼¡¾Ï

£±¡¥¤á¤¯¤ë¤á¤¯´±Ç½¤ÎÀ¤³¦¤Ø¡¡¡½¾ÈÌÀ¤Ø¤Î¤¤¤¶¤Ê¤¤

³§¤µ¤ó¤Ï¡¢ÉñÂæ¤ò¸«¤Æ¤¤¤Æ¡ÖWow¡ª¡×¤È»×¤ï¤º¸ý¤Ë¤·¤¿¤³¤È¤¬¤¢¤ê¤Þ¤»¤ó¤«¡©¤½¤Î¥É¥­¥Ã¤È¤·¤¿½Ö´Ö¤Î¤Û¤È¤ó¤É¤¬¡¢ÌÀ¤«¤ê¡Ê¾ÈÌÀ¡Ë¤¬Â礭¤¯ÊѲ½¤·¤¿½Ö´Ö¤Ç¤¹¡£
¿Í´Ö¤Ï³°Éô¤«¤é¤Î¾ðÊó¤òÆÀ¤ë¤¿¤á¤Ë¸Þ´¶¤òÍøÍѤ·¤Þ¤¹¤¬¡¢¤½¤ÎÃæ¤Ç¤â»ë³Ð¤«¤éÆÀ¤é¤ì¤ë¾ðÊ󤬺ǤâÂ礭¤Ê¥¦¥¨¥¤¥È¤òÀê¤á¤Þ¤¹¡£¤½¤·¤Æ¡¢¤½¤Î¾ðÊó¤Ï¿Í´Ö¤Î´¶¾ð¤ËÂ礭¤Ê±Æ¶Á¤òÍ¿¤¨¤Þ¤¹¡£
Î㤨¤Ð¡¢Æ®µí»Î¤Ïµí¤ÎÁ°¤ÇÀÖ¤¤ÉÛ¤ò¤Ò¤é¤Ò¤é¤µ¤»¤Þ¤¹¤¬¡¢¤¢¤ì¤Ïµí¤ò¶½Ê³¤µ¤»¤Æ¤¤¤ë¤Î¤Ç¤Ï¤Ê¤¯¡Êµí¤Ï¿§Ìդǿ§¤Ï¤ï¤«¤ê¤Þ¤»¤ó¡Ë´ÑµÒ¤ò¶½Ê³¤µ¤»¤Æ¤¤¤ë¤Î¤Ç¤¹¡£¥Ð¡¼¤ä¥¯¥é¥Ö¤ÎÆâÁõ¤Ë»ç¤¬Â¿¤¯»ÈÍѤµ¤ì¤Æ¤¤¤ë¤Î¤â»ç¤Ë¤ÏºÅ̲¸ú²Ì¤¬¤¢¤ê¡¢¿Í¤ò²ø¤·¤²¤Êµ¤»ý¤Á¤Ë¤µ¤»¤ë¤«¤é¤Ç¤¹¡£
ÉñÂæ¤Ë¤ª¤¤¤Æ¡¢»ë³Ð¸ú²Ì¤ÎÂ礭¤ÊÉôʬ¤òÀê¤á¡¢¤Ê¤ª¤«¤Ä½Ö»þ¤ËÊѲ½¤µ¤»¤ë¤³¤È¤¬½ÐÍè¤ë¤â¤Î¤¬¡Ö¾ÈÌÀ¡×¤Ê¤Î¤Ç¤¹¡£¾ÈÌÀ¸ú²Ì¤Ë¤è¤Ã¤Æ´ÑµÒ¤Î´¶À­¤ËľÀÜŪ¤ËÁʤ¨¤«¤±¡¢¶½Ê³¤µ¤»¤¿¤ê¡¢É԰¤ˤµ¤»¤¿¤ê¡¢Èᤷ¤¬¤é¤»¤¿¤ê¡¢¤Û¤Ã¤È¤µ¤»¤¿¤ê¡¢´î¤Ð¤»¤¿¤ê¤¹¤ë¤³¤È¤¬½ÐÍè¤Þ¤¹¡£
¤µ¤¢¤½¤ì¤Ç¤Ï¡Ö¾ÈÌÀ¡½¤á¤¯¤ë¤á¤¯´±Ç½¤ÎÀ¤³¦¡×¤Ø°ì½ï¤ËιΩ¤Á¤Þ¤·¤ç¤¦¡£

¡¦¤¢¤Ê¤¿¤Î²áµî¤ò¶µ¤¨¤Æ¡¡¡½¾ÈÌÀ¤ÎÎò»Ë
ÉñÂæ¾ÈÌÀ¤ÎÎò»Ë¤ò¡¢¤´¤¯´Êñ¤Ë½Ò¤Ù¤Þ¤¹¤È¡¢¼¡¤Î¤è¤¦¤Êή¤ì¤Ë¤Ê¤ê¤Þ¤¹¡£
£±¡Ë¼«Á³¸÷¡ÊÆü¸÷¡¦·î¸÷¡Ë
¸·Ì©¤Ê°ÕÌ£¤Ç¤Ï¾ÈÌÀ¤È¤Ï¸À¤¨¤Þ¤»¤ó¤¬¡¢¼Çµï¤¬²°³°¤Ç¹Ô¤ï¤ì¤¿»þÂå¤Ï¡¢¿Í¹©¤Î¾ÈÌÀ¤Ç¤Ï¤Ê¤¯¼«Á³¸÷¤òÍøÍѤ·¤¿¾ÈÌÀ¤¬¹Ô¤ï¤ì¤Æ¤¤¤Þ¤·¤¿¡£ÆüËܤβÎÉñ´ì¤Ë¤ª¤¤¤Æ¤ÏÌÀ¼£°Ê¹ß¤Þ¤Ç²°Æâ¤Ç¤¢¤Ã¤Æ¤â¼«Á³¸÷¤òÍøÍѤ·¤¿¾ÈÌÀ¤¬¹Ô¤ï¤ì¤Æ¤¤¤Þ¤·¤¿¡£
£²¡Ë¾¾ÌÀ¡Ê¤¿¤¤¤Þ¤Ä¡Ë¡¦äÀ²Ð¡Ê¤«¤¬¤ê¤Ó¡Ë
>°Ç¤Ï¿Í´Ö¤ÎËÜǽ¤ò¸Æ¤Ó³Ð¤Þ¤·¤Þ¤¹¡£¤ªº×¤ê¤«¤éȯ㤷¤¿¼Çµï¤â¤½¤Î¸¸ÁÛ¤ÎÀ¤³¦¤Ë¸«¤ë¿Í¤ò´¬¤­¹þ¤à¤¿¤á¤ËÌë´Ö¹Ô¤ï¤ì¤ë¤³¤È¤¬Â¿¤¯¤½¤Î¤¿¤á¤Ë¾ÈÌÀ¤È¤·¤Æ¾¾ÌÀ¤ääÀ²Ð¤¬ÍøÍѤµ¤ì¤Þ¤·¤¿¡£ÆüËܤˤª¤¤¤Æ¤Ï¡¢¸½ºß¤Ç¤âäÀ²Ðǽ¤È¤·¤Æ»Ä¤Ã¤Æ¤¤¤Þ¤¹
£³¡Ë¤í¤¦¤½¤¯
¼Çµï¤¬²°Æâ¤Ç¹Ô¤ï¤ì¤ë¤³¤È¤¬Â¿¤¯¤Ê¤ë¤È¡¢¾ÈÌÀ¤È¤·¤Æ¡Ö¤í¤¦¤½¤¯¡×¤¬ÍøÍѤµ¤ì¤ë¤è¤¦¤Ë¤Ê¤ê¤Þ¤·¤¿¡£¤í¤¦¤½¤¯¤Ï¸÷Î̤¬¾¯¤Ê¤¤¤Î¤Ç¿Î̤ËÅÀÅô¤Ç¤­¤ë¥·¥ã¥ó¥Ç¥ê¥¢¤¬È¯Ã£¤·¤Þ¤·¤¿¡£¥·¥§¡¼¥¯¥¹¥Ô¥¢»þÂå¤Î¾ÈÌÀ¤Ï¤Û¤È¤ó¤É¤¬¤í¤¦¤½¤¯¤Ç¤·¤¿
£´¡Ë¥¬¥¹Åô¡¢¥é¥¤¥à¥é¥¤¥È
ÀÐú¤«¤éʬΥ¤µ¤ì¤¿ÀÐú¥¬¥¹¡Ê¼ç¤Ë°ì»À²½ÃºÁǡˤò»ÈÍѤ·¤¿¥¬¥¹Åô¤Ï¡¢¤í¤¦¤½¤¯¤ÎÌó£±£°ÇÜÄøÅÙ¤ÎÌÀ¤ë¤µ¤ò»ý¤Ã¤Æ¤¤¤ë¤¿¤á°ì»þ´ü¾ÈÌÀÍѤÎÌÀ¤«¤ê¤È¤·¤ÆÍøÍѤµ¤ì ¤Þ¤·¤¿¤¬¡¢Â¿¿ô»ÈÍѤ¹¤ë¤È¡¢·à¾ìÆâ¤¬»ÀÁÇÉÔ­¤Ë¤Ê¤ë¤³¤È¤â¤¢¤Ã¤¿¤È¸À¤ï¤ì¤Æ¤¤¤Þ¤¹¡£¥é¥¤¥à¥é¥¤¥È¤Ï¡¢»ÀÁǤȿåÁǡʤޤ¿¤Ï¥¨¡¼¥Æ¥ë¤ä¥¬¥½¥ê¥ó¡Ë¤òdz¤ä¤·¤Æ½Ð Í褿±ê¤òÀ¸Àг¥¤ËÅö¤Æ¤Æ¶¯¤¤¸÷¤ò½Ð¤¹Êª¤Ç¡¢·à¾ìÍѤξÈÌÀ¤È¤·¤Æ¤Ï¡¢¸å½Ò¤Î¥¢¡¼¥¯¥é¥¤¥È¤È½Å¤Ê¤ë»þ´ü¤Þ¤ÇÍøÍѤµ¤ì¤Þ¤·¤¿¡£
£µ¡ËÅŵ¤¤Ë¤è¤ëÌÀ¤«¤ê
Åŵ¤¤¬ÍøÍѤǤ­¤ë¤è¤¦¤Ë¤Ê¤ë¤È¡¢Åŵ¤¤Ë¤è¤ë¾ÈÌÀ¤¬¹Ô¤ï¤ì¤ë¤è¤¦¤Ë¤Ê¤ê¤Þ¤·¤¿¡£Åŵ¤¤òÍøÍѤ·¤¿¾ÈÌÀ¤ÎÍøÅÀ¤ÏÅÀÅô¡¦¾ÃÅô¤¬Íưפ˹Ԥ¨¤ë¤³¤È¤Ë¤¢¤ê¤Þ¤¹¡£¤³¤Î¤³ ¤È¤Ë¤è¤ê¡¢¾ÈÌÀ¤Î¸ú²Ì¤È¤·¤Æ¤ÎÌò³ä¤¬ÈôÌöŪ¤ËÁý¤·¤¿¤È»×¤ï¤ì¤Þ¤¹¡£¤¿¤À¤·½é´ü¤ÎÅŵå¤Ï¸÷Î̤¬¾¯¤Ê¤¯Åŵå°Ê³°¤ÎÅô¶ñ¤Ç¤¢¤ë¥¢¡¼¥¯¥é¥¤¥È¤¬ÍøÍѤµ¤ì¤Þ¤·¤¿¡£ ¥¢¡¼¥¯¥é¥¤¥È¤Ï¡¢£²¤Ä¤ÎúÁÇËÀ¤ËÅ۵¤ò³Ý¤±ÊüÅŤµ¤»¤ë¤³¤È¤Ë¤è¤ê¶¯¤¤¸÷¤ò½Ð¤¹Êª¤Ç¤¹¡£¡ÊÅŵ¤ÍÏÀܤβв֤Τ褦¤Ê¤â¤Î¡Ë£±£¹£¶£°Ç¯Âå¤Þ¤Ç±Ç²è´Û¤Ç±Ç¼Ìµ¡¤Î¸÷ ¸»¤È¤·¤Æ»È¤ï¤ì¤Þ¤·¤¿¡£
£¶¡ËÅŵ太¤è¤Ó¤½¤ì¤ËÎह¤ë¤â¤Î
Åŵ夬ȯ㤹¤ë¤Ë¤·¤¿¤¬¤Ã¤Æ¡¢¾ÈÌÀ´ï¶ñ¤Î¤Û¤È¤ó¤É¤¬Åŵå¡ÊÇòÇ®Åô¡Ë¤Ë¤Ê¤ê¤Þ¤·¤¿¡£¤³¤Î¤³¤È¤Ë¤è¤ê¾ÈÌÀ¤Î¸ú²Ì¤È¤·¤Æ¤ÎÌò³ä¤Ï¾¤Î¸ú²Ì¤ÈƱÅù¤ÎÃϰ̤ò³ÎÊݤ·¤Þ ¤·¤¿¡£Åŵå¤ÎÍøÅÀ¤Ï¡¢ÅÀÅô¡¦¾ÃÅô¤Î¤ß¤Ê¤é¤º¸÷Î̤Υ³¥ó¥È¥í¡¼¥ë¤¬Íưפ˽ÐÍè¤ë¤³¤È¡¢Â¾¤ÎÌÀ¤«¤ê¤ËÈæ¤Ù¤ÆÈ¯Ç®Î̤¬¾¯¤Ê¤¤¤¿¤áÌÀ¤«¤ê¤ÎÁ°¤Ë¿§¤Ä¤­¤Î¥¼¥é¥Á¥ó¤Ê ¤É¤òÃÖ¤¯¤³¤È¤Ë¤è¤ê¸÷¤Ë¿§¤¬ÉÕ¤±¤é¤ì¤ë¤³¤È¤Ë¤¢¤ê¤Þ¤¹¡£ÇòÇ®Åô¤Î¾¤Ë¥Ï¥í¥²¥ó¥é¥ó¥×¡¢¤Þ¤¿ÆÃ¼ì¤Ê·Ö¸÷Åô¡Ê¥Ö¥é¥Ã¥¯¥é¥¤¥È¡Ý»ç³°ÀþÅô¡Ë¤Ê¤É¤âÍøÍѤµ¤ì¤ë¤è¤¦ ¤Ë¤Ê¤Ã¤Æ¤­¤Æ¤¤¤Þ¤¹¡£¸½ºß¤ÎÉñÂæ¾ÈÌÀ¤È¸À¤¦¤È¤Û¤È¤ó¤ÉÁ´¤Æ¤¬Åŵå¤ËÎह¤ë¤â¤Î¤òÍøÍѤ·¤Þ¤¹¡£


¥Û¡¼¥à¥Ú¡¼¥¸ |Ìܼ¡ |ËÜ¾Ï¥È¥Ã¥× |Á°¹àÌÜ |¼¡¹àÌÜ |¼¡¾Ï

£²¡¥¤½¤³¤¬´¶¤¸¤ë¤È¤³¤í¡¡¡½¾ÈÌÀ¤ÎÌò³ä

¾ÈÌÀ¤ÎÉñÂæ¤Ë¤ª¤±¤ëÌò³ä¤Ï¡¢¼¡¤Î¤è¤¦¤Ê¤â¤Î¤¬¤¢¤ê¤Þ¤¹¡£
£±¡ËÉñÂæ¤ª¤è¤ÓÌò¼Ô¤ò¸«¤¨¤ë¤è¤¦¤Ë¤¹¤ë¡£
¤³¤ì¤¬¾ÈÌÀ¤ÎºÇ¤âÂçÀÚ¤ÊÌò³ä¤Ç¤¹¡£¤É¤ó¤ÊÁÇÀ²¤é¤·¤¤¤ª¼Çµï¤Ç¤â¿¿¤Ã°Å¤ä¤ß¤ÎÃæ¤Ç¹Ô¤ï¤ì¤¿¤Î¤Ç¤Ï¤ª¼Çµï¤Ë¤Ê¤ê¤Þ¤»¤ó¡£Â¾¤Î¸ú²Ì¤¬²¿¤é¤«¤ÎÍýͳ¤Ç̵¤¯¤È¤âÌò¼Ô ¤¬¤¤¤ì¤Ð¤ª¼Çµï¤Ï½ÐÍè¤Þ¤¹¤¬¡¢ÌÀ¤«¤ê¤¬Ìµ¤±¤ì¤Ð¤ª¼Çµï¤Ï½ÐÍè¤Þ¤»¤ó¡£´ÑµÒ¤ÏÌò¼Ô¤Î´é¤ò¡Êɽ¾ð¤ò¡Ë´Ñ¤è¤¦¤È¤·¤Þ¤¹¡£´é¤¬°Å¤¤¤È´ÑµÒ¤Ï²¿¤È¤«¸«¤è¤¦¤ÈÅØÎϤ·¤Æ Èè¤ì¤Æ¤·¤Þ¤¤¤Þ¤¹¡£¤è¤Û¤É¼Çµï¤Î½ÐÍ褬Îɤ¯¤Ê¤¤¤«¤®¤ê´ÑµÒ¤Ï¼Çµï¤Ë¤Ä¤¤¤Æ¤­¤Æ¤¯¤ì¤Þ¤»¤ó¡£ÆÃ¼ì¤Ê¸ú²Ì¤ò¤Í¤é¤¦¤È¤­°Ê³°¤ÏÌò¼Ô¤Î´é¤¬¸«¤¨¤ë¤è¤¦¤Ë¤·¤Ê¤±¤ì¤Ð ¤Ê¤ê¤Þ¤»¤ó¡£
£²¡Ëµ¨Àᡦ»þ´Ö¡¦¾ì½êÅù¤Î´Ä¶­ÅªÊ·°Ïµ¤¤ò¤Ä¤¯¤ë
½Õ¤Ê¤Î¤«¡¢²Æ¤Ê¤Î¤«¡¢½©¤Ê¤Î¤«¤½¤ì¤È¤âÅߤʤΤ«¡¢¤Þ¤¿Ä«¤«¡¢Ã뤫ͼÊý¤«¡¢Ì뤫¡¢¾ì½ê¤Ï²°³°¤«¡¢²°Æâ¤«¡¢³¤´ß¤«¡¢»³±ü¤«¤Ê¤É¤Î´Ä¶­ÅªÊ·°Ïµ¤¤òÁϤê½Ð¤¹¤³¤È¤â¾ÈÌÀ¤ÎÂ礭¤ÊÌò³ä¤Î£±¤Ä¤Ç¤¹¡£
£³¡ËÁõÃÖ¡¦°áÁõÅù¤òÊä½õ¤·¤ÆÀ¹¤ê¾å¤²¤ë
ÁõÃÖ¡¢°áÁõ¤Ê¤É¤òÊä½õ¤·¤ÆÀ¹¤ê¾å¤²¤ë¤Î¤â¾ÈÌÀ¤ÎÌò³ä¤Ç¤¹¡£¤Û¤È¤ó¤É¤ÎÁõÃÖ¡¢°áÁõ¤ÏËÜʪ¤Ç¤Ï¤¢¤ê¤Þ¤»¤ó¤¬¡¢¤½¤ì¤ò¤¤¤«¤ËËÜʪ¤Ë½ÐÍè¤ë¤«¤¬¾ÈÌÀ¤ÎÏӤˤ«¤«¤Ã¤Æ ¤¤¤Þ¤¹¡£¥Ù¥Ë¥ä¤Ë½ñ¤«¤ì¤¿µÜŤò¤¤¤«¤Ë¹ë²Ú¤ÊµÜŤ˸«¤»¤ë¤«¡¢»æ¤Çºî¤é¤ì¤¿²¦´§¤ò¤¤¤«¤Ë¤­¤é¤Ó¤ä¤«¤Ë¸«¤»¤ë¤«¤¬¾ÈÌÀ¤Ë¤«¤«¤Ã¤Æ¤¤¤Þ¤¹¡£
£´¡ËÌò¼Ô¤Î¿´ÍýŪɽ½Ð¤òÊä½õ¤¹¤ë
Ìò¼Ô¤Î¿´ÍýŪɽ½Ð¤ò¸÷¤ÎÊý¸þ¡¢¶¯¤µ¡¢¿§¤Ê¤É¤ÇÊä½õ¤·¤Þ¤¹¡£¾ÈÌÀ¤ÎÁϤÀ­¤¬ºÇ¤âɬÍפȤµ¤ì¤ëÉôʬ¤Ç¡¢±é½Ð°Õ¿Þ¡¢¼Çµï¤Îή¤ì¡¢Ìò¼Ô¤Î¿´¤Îư¤­¤Ë¤½¤Ã¤Æ¡¢Ìò¼Ô¤ÎÊ·°Ïµ¤¤òÀ¹¤ê¾å¤²¤½¤Îɽ½Ð¤òºÝΩ¤¿¤»¤ëɬÍפ¬¤¢¤ê¤Þ¤¹¡£

¥Û¡¼¥à¥Ú¡¼¥¸ |Ìܼ¡ |ËÜ¾Ï¥È¥Ã¥× |Á°¹àÌÜ |¼¡¹àÌÜ |¼¡¾Ï

£³¡¥¤¢¤Ê¤¿¤ÎÀ­³Ê¤òÃΤꤿ¤¤¡¡¡½¸÷¤ÎÀ­¼Á

¾ÈÌÀ¤ò¤¹¤ë¾ì¹ç¤Ë¤Ï¡¢¸÷¤ÎÀ­¼Á¡ÊÆÃ¼Á¡Ë¤ò¿¾¯ÃΤäƤª¤¯¤³¤È¤¬É¬ÍפǤ¹¡£¸÷¤Ë¤Ï¼¡¤Î¤è¤¦¤ÊÀ­¼Á¤¬¤¢¤ê¤Þ¤¹¡£
£±¡Ë¸÷¤Ï¸«¤¨¤Þ¤»¤ó¡©
¸÷¤Ë¤Ïľ¿ÊÀ­¤¬¤¢¤ê¡¢¸÷¤½¤Î¤â¤Î¤ò²£¤«¤é¸«¤Æ¤â¸«¤¨¤Þ¤»¤ó¡£¸÷¤¬¸«¤¨¤ë¤Î¤Ï¸÷¸»¡Ê¸÷¤òȯ¤·¤Æ¤¤¤ë¤â¤Î¡Ë¤òľÀܸ«¤¿¤È¤­¤«¡¢¸÷¤¬¤â¤Î¤ËÅö¤¿¤Ã¤ÆÈ¿¼Í¤·¤¿»þ¤Ç ¤¹¡£¸÷¤ò¸÷»Ò¤È¹Í¤¨¤ë¤È¡¢¸÷»Ò¤¬»äã¤ÎÌÖËì¤Ë㤷¤¿¾ì¹ç¤Ç¤¹¡£»ä¤¿¤Á¤¬¸÷¤ò´¶¤¸¤ë¤Î¤Ï¤Û¤È¤ó¤É¤¬Êª¤ËÅö¤¿¤Ã¤ÆÈ¿¼Í¤·¤¿»þ¤Ç¤¹¡£
£²¡Ë¹õ¤¤¸÷¤Ï¤¢¤ê¤Þ¤»¤ó¡£
>¸÷¤Î¸ºß¤òÂǤÁ¾Ã¤¹¸÷¤Ï¤¢¤ê¤Þ¤»¤ó¡£Î㤨¤Ð¡¢ÌÀ¤ë¤¤ÉñÂæ¤Î°ìÉô¤ò¹õ¤¤¥¹¥Ý¥Ã¥È¥é¥¤¥È¤òÅö¤Æ¤Æ¤½¤³¤À¤±¹õ¤¯¤¹¤ë¤³¤È¤Ï¤Ç¤­¤Þ¤»¤ó¡£È¿ÂФ˹õ¤¤ÉñÂæ¤Ë¥¹¥Ý¥Ã¥È¥é¥¤¥È¤òÅö¤Æ¤Æ¤½¤³¤À¤±ÌÀ¤ë¤¯¤¹¤ë¤³¤È¤Ï¤Ç¤­¤Þ¤¹¡£
£³¡Ëʪ¤Î¿§¤ÏÈ¿¼Í
>ʪ¤Î¿§¤Ï¡¢¸÷¤¬Åö¤¿¤Ã¤¿»þ¤½¤Î¿§¤À¤±¤òÈ¿¼Í¤·Â¾¤Î¿§¤òµÛ¼ý¤¹¤ë¤«¤é¤Ç¤¹¡£Çò¸÷¿§(ÂÀÍۤθ÷¤äÌÀ¤ë¤¤Åŵå¤Ê¤É¤Î¸÷)¤Ï¡¢Á´¤Æ¤Î¸÷¤Î¿§¤ò´Þ¤ó¤Ç¤¤¤Þ ¤¹¡£¡Ê¤Ä¤Þ¤ê¡¢Á´¤Æ¤Î¸÷¤òº®¤¼¹ç¤ï¤»¤ë¤ÈÇò¸÷¿§¤Ë¤Ê¤ë¡Ë¡¢¤½¤ÎÇò¸÷¿§¤Ë¾È¤é¤µ¤ì¤¿¤â¤Î¤¬¤É¤Î¸÷¤òÈ¿¼Í¤·¡¢¤É¤Î¸÷¤òµÛ¼ý¤¹¤ë¤«¤Ç¡¢Êª¤Î¿§¤¬·è¤Þ¤ê¤Þ¤¹¡£
Çò¤Ï¤Û¤È¤ó¤É¤Î¸÷¤òÈ¿¼Í¤·¡¢¹õ¤Ï¤Û¤È¤ó¤É¤Î¸÷¤òµÛ¼ý¤·¤Þ¤¹¡£ÀÖ¤ÏÀÖ¤¤¿§¤Î¤ß¤òÈ¿¼Í¤·¤½¤Î¾¤Î¿§¤òµÛ¼ý¤·¤Þ¤¹¡£
£´¡Ë¸÷¤Î»°¸¶¿§
ÀÖ¡¦ÀÄ¡¦ÎФθ÷¤òº®¹ç¤¹¤ë¤ÈÇò¤¤¸÷¤Ë¤Ê¤ê¤Þ¤¹¡£¤³¤Î£³¤Ä¤Î¿§¤ò¡Ö¸÷¤Î»°¸¶¿§¡×¤È¸À¤¤¤Þ¤¹¡£ÍýÏÀŪ¤Ë¤Ï¤³¤Î£³¿§¤ÇÁ´¤Æ¤Î¿§¤¬ºî¤ê½Ð¤»¤Þ¤¹¡£
¡¦Êä¿§¤ËÃí°Õ
Êä¿§¤È¤¤¤¦¤Î¤Ï¡¢º®¤¼¹ç¤ï¤»¤ë¤ÈÇò¤Ë¤Ê¤ë¸÷¤Î¤³¤È¤Ç¡¢ÀÖ¤ËÂФ·¤ÆÀÄÎС¢ÀĤËÂФ·¤Æ²«¿§¤Ê¤É¤¬¤¢¤ê¤Þ¤¹¡£¿Í´Ö¤ÎÌܤÏÊä¿§½¤Àµµ¡Ç½¤¬¤¢¤ê¡¢ÀÖ¤¤¸÷¤ÎÃæ¤Ë¤¤¤ë¤ÈÀÖ¤òÇò¤Èǧ¼±¤¹¤ë¤è¤¦¤Ê½¤Àµµ¡Ç½¤¬¤¢¤ê¤Þ¤¹¡£ (ÀÄÎФò´¶¤¸¤ëµ¡Ç½¤ò¶¯²½¤·¤Þ¤¹)¤½¤Î¤¿¤á¤Ë¡¢ÀÖ¤¤¸÷¤«¤éµÞ¤ËÇò¤¤¸÷¤ËÊѤï¤Ã¤¿¾ì¹ç¡¢Çò¤¬ÀĤߤ¬¤«¤Ã¤Æ¸«¤¨¤Þ¤¹¡£ÆÃ¤Ë¤½¤Î¸ú²Ì¤òÁÀ¤Ã¤¿¾ì¹ç¤Î¾¤ÏÃí°Õ¤¬É¬ÍפǤ¹¡£
£µ¡ËÂоÝʪ¤È¤Î´Ø·¸
£³¡Ë¤Ç½Ò¤Ù¤¿¤è¤¦¤Ë¡¢¤¢¤ë¤â¤Î¤¬¸«¤¨¤ë¤Î¤Ï¸÷¤òÈ¿¼Í¤·¤¿¤È¤­¤Ç¤¹¡£À֤ϸ÷¤ÎÃæ¤ÎÀÖ¤òÈ¿¼Í¤·¤Þ¤¹¤¬¡¢Î㤨¤ÐÀĤ¤¸÷¤ÎÃæ¤ÇÀÖ¤¤¤â¤Î¤Ï¤É¤¦¸«¤¨¤ë¤Ç¤·¤ç¤¦¤«¡¢ÀÄ ¤¤¸÷¤È¸À¤¦¤Î¤ÏÀÖ¤¤¸÷¤ò´Þ¤ó¤Ç¤¤¤Þ¤»¤ó¤Î¤ÇÈ¿¼Í¤¹¤Ù¤­À֤Ϥ¢¤ê¤Þ¤»¤ó¡£²¿¤âÈ¿¼Í¤·¤Ê¤¤¤È¸À¤¦¤³¤È¤Ï¹õ¤È¸À¤¦¤³¤È¤Ç¤¹¡£°áÁõ¤¬¤»¤Ã¤«¤¯Á¯¤ä¤«¤ÊÀÖ¤¤°áÁõ¤Ç¤â ÀĤ¤¸÷¤ÎÃæ¤Ç¤Ï¤Û¤È¤ó¤É¹õ¤Ë¸«¤¨¤Þ¤¹¤·¡¢È¿ÂФËÀÖ¤¤¸÷¤ÎÃæ¤Ç¤Ï¤Û¤È¤ó¤ÉÇò¤Ë¸«¤¨¤Þ¤¹¡£¿§¤ò»È¤¦¾ì¹ç¤Ï½¼Ê¬¤ËÃí°Õ¤·¤Ê¤±¤ì¤Ð¤Ê¤ê¤Þ¤»¤ó¡£
¡¦Ìò¼Ô¤Î³§ÍͤØ
ÉñÂæ¾å¤Î¼«Ê¬¤ËÌÀ¤«¤ê¤¬Åö¤¿¤Ã¤Æ¤¤¤ë¤«¤É¤¦¤«¤Ï¡¢Åô¶ñ¤ÎÊý¤ò¸þ¤¤¤¿¤È¤­¡¢¤Þ¤Ö¤·¤¤¤«¡¢¤Þ¤Ö¤·¤¯¤Ê¤¤¤«¤ÇȽ¤ê¤Þ¤¹¡£Á°¤«¤é¤ÎÌÀ¤«¤ê¤¬¤Þ¤Ö¤·¤¯¤Ê¤¤¾ì¹ç¤Ï±éµ»¥¨¥ê¥¢¤ò¤Ï¤º¤ì¤Æ¤¤¤Þ¤¹¡£°Õ¿Þ¤·¤Æ¤¤¤ë¾ì¹ç¤Î¾¤Ïɬ¤º¤Þ¤Ö¤·¤¯´¶¤¸¤ë¥¨¥ê¥¢Æâ¤Ç¤ª¼Çµï¤ò¤·¤Æ¤¯¤À¤µ¤¤¡£

¥Û¡¼¥à¥Ú¡¼¥¸ |Ìܼ¡ |ËÜ¾Ï¥È¥Ã¥× |Á°¹àÌÜ |¼¡¹àÌÜ |¼¡¾Ï

£´¡¥¿§µ¤¤¿¤Ã¤×¤ê¡½¿§ºÌ¤Ë¤Ä¤¤¤Æ

¸÷¤Ë¿§¤ò¤Ä¤±¤ë¤Ë¤Ï¡¢¥é¥¤¥È¤ÎÁ°¤Ë¿§¤Î¤Ä¤¤¤¿¥×¥é¥¹¥Á¥Ã¥¯¤Î¥Õ¥£¥ë¥à¡Ê¥×¥é¥¹¥Æ¡¼¥È¡Ë¤ò¥¼¥éÏȡʤޤ¿¤Ï¥×¥é¥¹¥Æ¡¼¥ÈÏÈ ¡½ÀΥץ饹¥Á¥Ã¥¯¤Î¤Ê¤¤º¢¤ÏÇö¤¤¥¼¥é¥Á¥ó¤Ë¿§¤ò¤Ä¤±¤·¤¿Êª¤ò»ÈÍѤ·¤Æ¤¤¤¿¤¿¤áº£¤Ç¤â¥¼¥éÏȤȸÀ¤¦¤³¤È¤¬¤¢¤ë¡Ë¤Ë¤Ï¤µ¤ß¡¢ÁÞÆþ¤·¤Þ¤¹¡£
¥×¥é¥¹¥Æ¡¼¥È¤Ë¤Ï¿§¤Ë¤è¤Ã¤Æ¥Ê¥ó¥Ð¡¼¤¬·è¤Þ¤Ã¤Æ¤¤¤Æ¡¢¿§¤ò¤¤¤¦¾ì¹ç¤Ë¤Ï¥Ê¥ó¥Ð¡¼¤Ç¤¤¤¤¤Þ¤¹¡£¸÷¤Ë¿§¤ò¤Ä¤±¤ë¤³¤È¤Ë¤è¤ê¡¢´Ä¶­¡¢¿´ÍýÅù¿§¡¹¤Ê¸ú²Ì¤ò¤Ä¤¯¤ê¤À¤¹¤³¤È¤¬¤Ç¤­¤Þ¤¹¡£
¼¡¤Ë¿§¤Î¥°¥ë¡¼¥×¤ÈÂåɽŪ¤Ê¥Ê¥ó¥Ð¡¼¡¢¤½¤Î¿§¤Îɽ¤¹´Ä¶­¤Î¥¤¥á¡¼¥¸¡¦¿´Íý¤Î¥¤¥á¡¼¥¸¤ò½Ò¤Ù¤Þ¤¹¤¬¡¢¤³¤ì¤Ï¸Ä¿Í¤Î´¶À­¤Ë´Ø¤ï¤ëÉôʬ¤Ç¤¹¤Î¤Ç¡¢¼ÂºÝ¤Ë¼«Ê¬¤Ç¿§¤ò¸«¤Æ´¶¤¸¤ëɬÍפ¬¤¢¤ê¤Þ¤¹¡£
¥Ê¥ó¥Ð¡¼ ¿§ ´Ä¶­Åª¥¤¥á¡¼¥¸ ¿´ÍýŪ¥¤¥á¡¼¥¸
£±£°ÈÖÂæ
¡ô£±£¶
¥Ô¥ó¥¯
¡¡
Ä«¾Æ¤±¡¢ºù
¥¹¥È¥ê¥Ã¥×·à¾ì
¤ä¤µ¤·¤µ¡¢¤Ï¤«¤Ê¤µ
¤­¤ì¤¤
£²£°ÈÖÂæ
¡ô£²£²
ÀÖ
¡¡
Ä«¾Æ¤±¡¢Í¼¾Æ¤±
²Ð»ö¡¢±ê
¾ðÇ®¡¢Åܤꡢ¾×·â
Ȉ
£³£°ÈÖÂæ
¡ô£³£´
Üô
¥¢¥ó¥Ð¡¼
ͼ¾Æ¤±¡¢½©
ÅÅÅô¤Î¤Ä¤¤¤¿Éô²°
´Å¤¤¡¢½ªÎ»
ÃȤ«¤¤
£´£°ÈÖÂæ
¡ô£´£µ
²«
¡¡
²Æ¡¢Æüº¹¤·
ÅÅÅô¤Î¤Ä¤¤¤¿Éô²°
í¯¡Ê¤½¤¦¡Ë¡¢½ë¤¤¡¢ÉÔ°ÂÄê
¡¡
£µ£°ÈÖÂæ
¡ô£µ£³
ÎÐ
¡¡
¿¹¡¢ÎÓ¡¢Áð¸¶
²Æ
¤ä¤µ¤·¤µ¡¢¼å¤µ¡¢ÉÔ°Â
¡¡
£µ£°ÈÖÂæ¸å
Ⱦ¤«¤é£¶£°
ÈÖÂæÁ°È¾
¡ô£µ£¸
ÀÄÎÐ


¡¡
³¤¡¢¸Ð


¡¡
¤µ¤ß¤·¤µ¡¢ÀŤ±¤µ


¡¡
£¶£°ÈÖÂæ¸å
Ⱦ¤«¤é£·£°
ÈÖÂæ
¡ô£¶£´
¡ô£·£²
¡ô£·£·
¡ô£·£¸
ÀÄ





¡¡
¶õ¡¢¿å¡¢Ìë¡¢°Ç





¡¡
ÀŤ±¤µ¡¢Èᤷ¤µ¡¢¸ÉÆÈ
¡¡¥·¥ç¥Ã¥¯¡¢Î䤿¤µ




¡¡
£¸£°ÈÖÂæ
¡ô£¸£¶
ȍ
¡¡
¥­¥ã¥Ð¥ì¡¼
¤ªË·¤µ¤ó
²ø¤·¤¤¡¢¹âµ®
¡¡
¡¡
ɽ¤Î¾¤Ë¡¢¼¡¤Î¤è¤¦¤ÊÆÃ¼ì¤Ê»È¤¤Êý¤ò¤¹¤ë¥×¥é¥¹¥Æ¡¼¥È¤¬¤¢¤ê¤Þ¤¹¡£
¡ô£°¡¦¡¦¡¦Ìµ¿§Æ©ÌÀ¤Î¥×¥é¥¹¥Æ¡¼¥È¤Ç¡¢·Á¤ä¿§¤òÉôʬŪ¤ËŽ¤ê¤Ä¤±¤¿¤ê¤¹¤ë¾ì¹ç¤ÎÂæ»æ¤È¤·¤Æ»È¤ï¤ì¤Þ¤¹¡£
¡ô£°£°¡¦¡¦¡¦Ëá¤ê¥¬¥é¥¹¤Î¤è¤¦¤ÊȾƩÌÀ¤Î¥×¥é¥¹¥Æ¡¼¥È¤Ç¡¢ÆÌ¥ì¥ó¥º¤Î¥¹¥Ý¥Ã¥È¥é¥¤¥È¤Î¸÷¤ò½À¤é¤«¤¯¤¹¤ë¾ì¹ç¤Ê¤É¤Ë»È¤ï¤ì¤Þ¤¹¡£
¤³¤ì¤é¤Î¿§¤ò¤É¤Î¤è¤¦¤Ë»È¤¦¤«¤¬¾ÈÌÀ¤ÎÏӤȸÀ¤¨¤Þ¤¹¡£¤¢¤Þ¤ê¤Ë²Ú¡¹¤·¤¯¿§¤ò»È¤¦¤ÈÌò¼Ô¤Î±éµ»¤ò»¦¤·¤Æ¤·¤Þ¤¦¤³¤È¤â¤¢¤ê¤Þ¤¹¡£È¿ÂФËŪ³Î¤Ë»È¤ï¤ì¤¿¿§¤Ï·àŪ¤Ê¸ú²Ì¤òÍ¿¤¨¤Þ¤¹¡£¿§¤ò»ÈÍѤ¹¤ë¾ì¹ç¤Ë¡¢ºÇ¤âÃí°Õ¤·¤Ê¤±¤ì¤Ð¤Ê¤é¤Ê¤¤¤Î¤Ï¡¢£³¡Ý £µ¡Ë¤Ç½Ò¤Ù¤¿ÁõÃÖ¡¦°áÁõ¤È¤Î´Ø·¸¤Ç¤¹¡£ÉñÂæÁõÃÖ¡¢°áÁõôÅö¤È½½Ê¬¤ÊÂǤÁ¹ç¤ï¤»¤¬É¬ÍפȤʤê¤Þ¤¹¡£

¥Û¡¼¥à¥Ú¡¼¥¸ |Ìܼ¡ |ËÜ¾Ï¥È¥Ã¥× |Á°¹àÌÜ |¼¡¹àÌÜ |¼¡¾Ï

£µ¡¥¤¦¤·¤í¤«¤é¤Þ¤¨¤«¤é¤É¤¦¤¾¡½¸÷¤ÎÊý¸þÀ­

¸÷¤ÎÊý¸þÀ­¤â¡¢´Ä¶­¡¦¿´Íý¤Ë¿§¤ÈƱ¤¸¤è¤¦¤Ê¸ú²Ì¤ò»ý¤Á¤Þ¤¹¡£Î㤨¤Ð¡¢Ä«¡¦Ãë´Ö¡¦Í¼Êý¤Ç¤Ï¸÷¤ÎÊý¸þ¤Ï°ã¤¦¤Ï¤º¤Ç¤¹¡£¸÷¤ÎÊý¸þÀ­¤ò¶¯Ä´¤¹¤ë¤¿¤á¤Ë¤Ï¡¢±Æ¡Ê±¢¡Ë ¤òÍøÍѤ·¤Þ¤¹¡£Ã»¤¤±Æ¤ÏÃë´Ö¤ò¡¢Ä¹¤¤±Æ¤ÏͼÊý¡ÊÄ«¡Ë¤ò´¶¤¸¤µ¤»¤Þ¤¹¡£¿´ÍýŪ¤Ë¤â¸÷¤ÎÊý¸þ¡Ê±Æ¤Î½ÐÍèÊý¡Ë¤Ë¤è¤Ã¤Æ¿§¡¹¤Ê´¶¤¸¤¬É½¤»¤Þ¤¹¡£
£±¡Ë¿¿ÀµÌ̤«¤é¤Î¾ÈÌÀ ¡ÄǽÌ̤Τ褦¤Ê̵ɽ¾ð¡¢Î䤿¤µ¡¢·ø¤µ¤ò´¶¤¸¤µ¤»¤Þ¤¹¡£
£²¡Ë¿¿¾å¡Ê¿¾¯Á°¡Ë¤«¤é¤Î¾ÈÌÀ¡Ê¥µ¥¹¡Ë ¡Ä´é¤Î±¢¤ò¥Ï¥Ã¥­¥ê¤µ¤»¡¢É½¾ð¤ò¶¯Ä´¤¹¤ë¸ú²Ì¤¬¤¢¤ê¤Þ¤¹¡£¥¹¥Ý¥Ã¥È±éµ»¡ÊÉñÂæ¤Î¤½¤ÎÉôʬ¤À¤±¤Î¾ÈÌÀ¡Ë¤Ë»ÈÍѤµ¤ì¤ë¤³¤È¤¬Â¿¤¯¡¢Ìò¼Ô¤Ë¤È¤Ã¤Æµ¤»ý¤Á¤è¤¯±éµ»¤Î½ÐÍè¤ë¾ÈÌÀ¤Ç¤¹¡£
£³¡Ë¾å¤Î¿¾¯¸å¤í¤è¤ê¤Î¾ÈÌÀ¡Ê¥Ð¥Ã¥¯¥µ¥¹¡Ë ¡ÄÌò¼Ô¤ÎÂΤÎÎØ³Ô¤ò¶¨Ä´¤·¡¢Ìò¼Ô¤ÎÂΤǤÎɽ½Ð¤ò°õ¾Ý¤Å¤±¤Þ¤¹¡£
£´¡ËÁ°²¼¤«¤é¤Î¾ÈÌÀ¡ÊÁ°¤«¤é¤ÎçÓ¤á¾å¤²¡Ë ¡ÄÉÔµ¤Ì£¤Ê´¶¤¸¤Ë¤Ê¤ê¡¢É԰¤䡢¶²Éݤò´¶¤¸¤µ¤»¤Þ¤¹¡£
£µ¡Ë¸å¤í²¼¤«¤é¤Î¾ÈÌÀ¡Ê¸å¤í¤«¤é¤ÎçÓ¤á¾å¤²¡Ë ¡Ä¾×·âŪ¤ÊÅоì¤Ë¿¤¯»È¤ï¤ì¡¢¥·¥ç¥Ã¥¯¤ä´üÂÔ¡¢¶²¤ì¡¢·É¤¤¤Ê¤É¤ò´¶¤¸¤µ¤»¤Þ¤¹¡£
ÁõÃÖ¤ËÂФ¹¤ë¸÷¤ÎÊý¸þÀ­¤âÂç»ö¤Ê¤³¤È¤Ç¤¹¡£Î㤨¤Ð¡¢ÉñÂæ±ü¤ËÅ·¹ñ¤Ë³¤¯³¬Ãʤ¬¤¢¤ê¡¢ºÇ½é¤Î¿ôÃʤ¬ºî¤êʪ¤Ç¸å¤Ï½ñ³ä¤À¤Ã¤¿¤È¤¹¤ë¤È¡¢½ñ³ä¤Î³¬Ãʤ¬ÁÏ¤ë±Æ¡Ê±Æ¤â½ñ³ä¤ÇÉÁ¤«¤ì¤Æ¤¤¤Þ¤¹¡Ë¤Èºî¤êʪ¤Î³¬Ãʤ¬ºî¤ë±Æ¤ÏƱ¤¸Êý¸þ¤ËƱ¤¸Ç»¤µ¤Ç½Ð¤ëɬÍפ¬¤¢¤ê¤Þ¤¹¡£
¸÷¤Îľ¿ÊÀ­¤Î¤¿¤á¡¢´é¤ËÅö¤Æ¤ë¤Ä¤â¤ê¤ÎÁ°ÌÀ¤«¤ê¤Ç¤â¡¢Ìó£³£°Åٰʾå¤Î³ÑÅÙ¤«¤éÅö¤Æ¤ë¤È¡¢Ìò¼Ô¤Î´é¤Ë±¢¤¬½ÐÍè¤Þ¤¹¡£Ìò¼Ô¤Îɽ¾ð¤ò¸«¤»¤ë¤¿¤á¤Ë¤Ï¡¢Á°ÌÀ¤«¤ê¤Ï ¤Ê¤ë¤Ù¤¯Ä㤤°ÌÃÖ¤«¤éÅö¤Æ¤ëɬÍפ¬¤¢¤ê¤Þ¤¹¡£¤¿¤À¤·¡¢¤¢¤Þ¤êÄ㤤°ÌÃÖ¤«¤éÅö¤Æ¤ë¤È¡¢¥¨¥ê¥¢¤¬ÁϤì¤Þ¤»¤ó¡£ÉñÂæÁ°Ì̤ËÅö¤Æ¤ë¤Ä¤â¤ê¤¬ÉñÂæ±ü¤Þ¤ÇÌÀ¤ë¤¯¤Ê¤Ã¤Æ ¤·¤Þ¤¤¤Þ¤¹¡£¤Ò¤É¤¤¤È¤­¤Ë¤Ï¥Û¥ê¥¾¥ó¥È¤ËÌÀ¤«¤ê¤¬Åö¤¿¤Ã¤Æ¤·¤Þ¤¤¥Û¥ê¥¾¥ó¥È¤Î¸ú²Ì¤ò¤¸¤ã¤Þ¤·¤Æ¤·¤Þ¤¤¤Þ¤¹¡£±éµ»¥¨¥ê¥¢¤È´éÅö¤Æ¤Î¥Ð¥é¥ó¥¹¤ò½½Ê¬¤Ë¹Í¤¨¤ë¤³ ¤È¤¬É¬ÍפǤ¹¡£
¤Þ¤¿¡¢¥»¥Ã¥È¤äÃÏ¥¬¥¹¥ê¤ËÅö¤¿¤Ã¤¿¸÷¤ÎÈ¿¼Í¤¬ÉÔɬÍפʽê¤ËÅö¤¿¤ë¡Ê¤³¤ì¤ò¥Ï¥ì¡¼¥·¥ç¥ó¤È¸À¤¤¤Þ¤¹¡Ë¤³¤È¤¬¤¢¤ê¤Þ¤¹¤Î¤Ç¡¢ÌÀ¤«¤ê¤Î³ÑÅÙ¡¢Êý¸þ¤Ë¤Ï½½Ê¬¤ÊÃí°Õ¤¬É¬ÍפǤ¹¡£

¥Û¡¼¥à¥Ú¡¼¥¸ |Ìܼ¡ |ËÜ¾Ï¥È¥Ã¥× |Á°¹àÌÜ |¼¡¹àÌÜ |¼¡¾Ï

£¶¡¥·¯¤ÎÆ·¤Ï100Ëü¥Ü¥ë¥È¡½Åŵ¤¤ÎÃμ±

Åŵ¤¤ÎÃμ±¤È¤¤¤¦¤ÈƬ¤ÎÄˤ¯¤Ê¤ë¿Í¤¬Â¿¤¤¤Ç¤·¤ç¤¦¡£Ìܤ˸«¤¨¤Ê¤¤¤·¡¢¤·¤Ó¤ì¤ë¤·¡£¤·¤«¤·¸½ºß¤Î¾ÈÌÀ¤¬Åŵ¤Åª¤Ê¾ÈÌÀ¤Ç¤¢¤ë¸Â¤ê¡¢Åŵ¤¤Î¤³¤È¤ÏÈò¤±¤ÆÄ̤ë¤ï¤±¤Ë¤Ï¹Ô¤­¤Þ¤»¤ó¡£
¤·¤«¤·°Â¿´¤·¤Æ¤¯¤À¤µ¤¤¡£ÃΤé¤Ê¤¯¤Æ¤Ï¤Ê¤é¤Ê¤¤¤³¤È¤Ï¡¢¼¡¤Ë½Ò¤Ù¤ë¤¿¤Ã¤¿2¤Ä¤Î¤³¤È¤Î¤ß¤Ç¤¹¡£
£±¡ËÅŵ¤¤Ï¤Ä¤Ê¤¬¤Ã¤Æ¤¤¤Ê¤¤¤Èή¤ì¤Ê¤¤¡£
¥Æ¥ì¥Ó¤äÀöÂõµ¡¤Î¥³¡¼¥É¤¬¥³¥ó¥»¥ó¥È¤Ëº¹¤·¹þ¤Þ¤ì¤Æ¤¤¤Ê¤¤¤È¡Ê¤Ä¤Ê¤¬¤Ã¤Æ¤¤¤Ê¤¤¤È¡ËÅŵ¤¤ÏÆþ¤ê¤Þ¤»¤ó¡£Åö¤¿¤êÁ°¤Î¤³¤È¤Ç¤¹¤¬¡¢¾ÈÌÀ¤Î¥È¥é¥Ö¥ë¤Î£¹£°¡ó°Ê¾å ¤ÏÅŸ»¤¬Æþ¤é¤Ê¤¤¤³¤È¤Ç¤¹¡£¤³¤Î¾ì¹ç¡¢É¬¤º¤É¤³¤«¤Ç¥³¡¼¥É¤¬³°¤ì¤Æ¤¤¤ë¡¦¥³¡¼¥É¤Î¤É¤³¤«¤ÇÃÇÀþ¤·¤Æ¤¤¤ë¡¦Åŵå¤Î¥Õ¥£¥é¥á¥ó¥È¤¬ÀÚ¤ì¤Æ¤¤¤ë¡¦¥¹¥¤¥Ã¥Á¤¬Æþ¤Ã ¤Æ¤¤¤Ê¤¤¤Ê¤É¡¢¤Ä¤Ê¤¬¤Ã¤Æ¤¤¤Ê¤¤¤Î¤Ç¤¹¡£
ÅÀÅô¤·¤Ê¤¤¾ì¹ç¤Ï¡¢¥³¥ó¥»¥ó¥È¤¬³°¤ì¤Æ¤¤¤Ê¤¤¤«³Î¤«¤á¤ë¡¢¥¹¥¤¥Ã¥Á¤¬Æþ¤Ã¤Æ¤¤¤ë¤«³Î¤«¤á¤ë¡¢Ê̤ÎÅô¶ñ¤ËÊѤ¨¤Æ¤ß¤ë¡¢¤½¤ì¤ÇÅÀ¤±¤ÐÅŵå¤ò³Î¤«¤á¤ë¡£Ê̤ÎÅô¶ñ ¤Ç¤â¤Ä¤«¤Ê¤±¤ì¤Ð¡¢¥³¡¼¥É¤ò¼è¤êÂØ¤¨¤Æ¤ß¤ë¡£¤½¤ì¤ÇÅÀ¤±¤Ð¥³¡¼¥É¤ÎÉÔÎÉ¡£¥³¡¼¥É¤òÊѤ¨¤ë¡£¤½¤ì¤Ç¤â¤Ä¤«¤Ê¤±¤ì¤Ð¡¢Åŵ¤¤¬Íè¤Æ¤¤¤Ê¤¤¡¢¥¹¥¤¥Ã¥ÁÅù¤ò³Î¤«¤á ¤ë¡£
£²¡Ë¥ï¥Ã¥È¡ÊÅŵ¤ÍÆÎ̡ˤη׻»
·×»»¤È¤¤¤¦¤È¤Þ¤¿Æ¬¤¬Äˤ¯¤Ê¤Ã¤Æ¤­¤Þ¤¹¤¬¡¢Åŵ¤ÍÆÎ̤ËÀ©¸Â¤Î¤¢¤ë²ñ¾ì¤Ç¾ÈÌÀ¤ò¤¹¤ë¾ì¹ç¡¢¤É¤ì¤À¤±¤ÎÅô¶ñ¤ò 1Å٤˻ÈÍѤǤ­¤ë¤«¤òÃΤ뤿¤á¤ËɬÍפǤ¹¡£¤â¤·¡¢²ñ¾ì¤ÎÅŵ¤ÍÆÎ̤òͤ¨¤ÆÅŵ¤¤ò»È¤¦¤È¥Ö¥ì¡¼¥«¡¼¤¬¤È¤ó¤À¤ê¡¢¥Ò¥å¡¼¥º¤¬Àڤ줿¤ê¤·¤Þ¤¹¡£
·×»»ÊýË¡¤Ï¡¢¤È¤Ã¤Æ¤â´Êñ¤Ç¼¡¤Î¼°¤ò³Ð¤¨¤ë¤À¤±¤Ç¤¹¡£
·×»»¼°¤Ï¡§
£×¡Ê¥ï¥Ã¥È¡Ë¡á£Á¡Ê¥¢¥ó¥Ú¥¢¡Ë¡ß£Ö¡ÊÅ۵¡Ë
²ñ¾ì¤Ç»ÈÍѤǤ­¤ëÍÆÎ̤ϡ¢¥¢¥ó¥Ú¥¢¤Çɽ¤µ¤ì¤Æ¤¤¤Þ¤¹¡£Î㤨¤Ð¡¢ÉáÄ̤βÈÄí¤Ç¤Ï¡¢»ÈÍѤǤ­¤ëÅŵ¤ÍÆÎ̤ϣ³£°£Á¤Ç¤¹¡£Å۵¤Ï¡¢Ä̾£°£°£Ö¤È·è¤Þ¤Ã¤Æ¤¤¤Þ¤¹¤Î¤Ç¡¢£³£° ¡ß£±£°£°¤Ç£³£°£°£°£×¡Ê£³£Ë£×¡Ë¤Þ¤Ç»ÈÍѤǤ­¤Þ¤¹¡£Åô¶ñ¤Ï»ÈÍÑÅŵå¤Ë¤è¤Ã¤Æ¾ÃÈñ¥ï¥Ã¥È¿ô¤¬·è¤Þ¤Ã¤Æ¤¤¤Æ¡¢£Ô£±¤Î¾ì¹ç¤Ï£µ£°£°£×¤Ç¤¹¡£¤Ç¤¹¤«¤é£³£°£°£°£×¤Î²ÈÄí¤Ç¤Ï£Ô£±¤ò£¶¸ÄƱ»þ¤ËÅÀÅô¤Ç¤­¤ë¤³¤È¤Ë¤Ê¤ê¤Þ¤¹¡£
¸À¤¤Êý¤òÊѤ¨¤Þ¤¹¤È¡¢£µ£°£°£×¤Î£Ô£±¤Ï¡¢£µ£Á¡Ê£µ£°£°£×¡à£±£°£°£Ö¡Ë¤ÎÅŵ¤¤ò»È¤¦¤¿¤á¡¢£³£°£Á¤Ç¤Ï£¶¸Ä»È¤¨¤ë¤È¤¤¤¦¤³¤È¤Ç¤¹¡£
Åö·àÃĤηθžì¤Ï¡¢£¶£°£Á¤Þ¤Ç»ÈÍѤǤ­¤Þ¤¹¤Î¤Ç¡¢£Ô£±¤ò£±£²¸Ä¡ÊÅô¡ËƱ»þ¤ËÅÀÅô¤Ç¤­¤Þ¤¹¡£
Æñ¤·¤¤¤È»×¤ï¤ì¤¿Êý ¤Ï¡¢¤³¤¦¹Í¤¨¤Æ¤ß¤Æ¤¯¤À¤µ¤¤¡££Á¡Ê¥¢¥ó¥Ú¥¢¡Ë¤ò¿ôÎÌ¡¢£Ö¡ÊÅ۵¡Ë¤ò¤ª¶â¤È¤·¤Þ¤¹¡¢Ä̾ï»ä¤¿¤Á¤¬»È¤¦Å۵¤Ï£±£°£°£Ö¤Ê¤Î¤Ç¡¢£±£°£°±ß¶Ì¤È¤·¤Þ¤¹¡££¶£°£Á¤È¸À ¤¦¤³¤È¤Ï¡¢£±£°£°±ß¶Ì¤ò£¶£°¸Ä»ý¤Ã¤Æ¤¤¤ë¤³¤È¤Ë¤Ê¤ê¤Þ¤¹¡£¤Ä¤Þ¤ê£¶£°£°£°±ß»ý¤Ã¤Æ¤¤¤ë¤È¸À¤¦¤³¤È¤Ç¤¹¡££µ£°£°£×¤ÎÅô¶ñ¤Ï£µ£°£°±ß¤È¹Í¤¨¤Þ¤¹¡Ê£±£Ë£×¤ÎÅô¶ñ ¤Ï£±£°£°£°±ß¤Ç¤¹¡Ë¡££¶£°£°£°±ß¤Ç£µ£°£°±ß¤Î¤â¤Î¤¬´ö¤ÄÇ㤨¤ë¤«¤È¤¤¤¦¤³¤È¤Ê¤Î¤Ç¤¹¡£

¥Û¡¼¥à¥Ú¡¼¥¸ |Ìܼ¡ |ËÜ¾Ï¥È¥Ã¥× |Á°¹àÌÜ |¼¡¾Ï

£·¡¥¤Ï¤¸¤á¤Æ¤Ê¤Î¡½¼ÂºÝ¤Î¾ÈÌÀ

¾ÈÌÀ¤Î»Å»ö¤Ï¡¢Â礭¤¯Ê¬¤±¤Æ£²¤Ä¤¢¤ê¤Þ¤¹¡££±¤Ä¤Ï¡Ö¥×¥é¥ó¥Ê¡¼¡×¤È¸Æ¤Ð¤ì¤ë¾ÈÌÀ¤Î¥×¥é¥ó¤òΩ¤Æ¤ë»Å»ö¤Ç¡¢¤³¤ì¤Ï¤Û¤È¤ó¤É¤Î¾ì¹ç°ì¿Í¤Ç¹Ô¤¤¤Þ¤¹¡£¤â¤¦ 1¤Ä¤Ï¡Ö¥ª¥Ú¥ì¡¼¥¿¡×¤È¸Æ¤Ð¤ì¤ë»Å»ö¤Ç¡¢¼ÂºÝ¤Î¸ø±é¤ÇÄ´¸÷Âî¤Ê¤É¤òÁàºî¤·¤ÆÌÀ¤«¤ê¤òÆþ¤ì¤¿¤êÀڤ俤êÄ´À°¤·¤¿¤ê¤¹¤ë»Å»ö¤Ç¤¹¡£¥ª¥Ú¥ì¡¼¥¿¤Ï°ì¿Í¤È¤Ï¸Â¤ê¤Þ ¤»¤ó¡£¥Õ¥©¥í¡¼¥¹¥Ý¥Ã¥ÈÅù¤ò»ÈÍѤ·¤¿¾ì¹ç¡¢ÀìÍѤΥª¥Ú¥ì¡¼¥¿¤¬É¬Íפˤʤê¤Þ¤¹¡£Åö·àÃĤΤ褦¤Ê¾®¤µ¤Ê½¸ÃĤǤϡ¢¥×¥é¥ó¥Ê¡¼¤È¥ª¥Ú¥ì¡¼¥¿¤ò°ì¿Í¤Ç¹Ô¤¦¤³¤È¤â ÄÁ¤·¤¯¤¢¤ê¤Þ¤»¤ó¡£
£·¡Ý£±¡¥¥×¥é¥ó¥Ê¡¼¤Î»Å»ö
£±¡ËÂæËܤòʬÀϤ·¡¢¤É¤Î¤è¤¦¤Ê¾ì¤¬¤¢¤ê¡¢¤É¤Î¤è¤¦¤ÊÌÀ¤«¤ê¤¬É¬Íפ«¤ò¹Í¤¨¡¢¥¤¥á¡¼¥¸¤òËĤé¤Þ¤»¤Þ¤¹¡£
£²¡Ë±é½Ð¡¦ÁõÃÖ¡¦°áÁõ¤ÈÂǹ礻¥¤¥á¡¼¥¸¤ÎÅý°ì¤ò¿Þ¤ê¤Þ¤¹¡£
£³¡Ë·Î¸Å¤òÎɤ¯¸«¤Æ¡¢Ìò¼Ô¤Î¥ß¥¶¥ó¥¹¤òÍý²ò¤·¤Þ¤¹¡ÊÌò¼Ô¤¬¤É¤³¤Ç¡¢¤É¤Î¤è¤¦¤Ëư¤­¡¢¤É¤Á¤é¤Ë´é¤ò¸þ¤±¤Æ¤¤¤ë¤«Åù¡Ë¡£¤Þ¤¿¡¢±é½Ð¤ÎÌò¼Ô¤ËÂФ¹¤ë¥À¥á¤òʹ¤­¡¢¤É¤Î¤è¤¦¤ÊÀ¤³¦¤¬É¬ÍפȤµ¤ì¤Æ¤¤¤ë¤Î¤«¤òÃΤê¤Þ¤¹¡£
£´¡ËÁõÃÖ¤«¤éÁõÃÖ¿Þ¤ò¼õ¼è¤ê¤Þ¤¹¡£
£µ¡ËÁõÃÖ¤ò¤â¤È¤Ë¡¢³Æ¾ìÌ̤ÎɬÍפȤµ¤ì¤Æ¤¤¤ëÌÀ¤«¤ê¤ò½ñ¤­¤Þ¤¹¡£¡Ê¤³¤Î»þ¡¢È¾Æ©ÌÀ¤Î»æ¤Ë½ñ¤¤¤Æ¤ª¤¯¤È¸å¤Ç¤Þ¤È¤á¤ë»þ¤ËÊØÍø¤Ç¤¹¡£¡Ë
£¶¡Ë¤½¤ì¤¾¤ì¤Î¾ì¤ÎÌÀ¤«¤ê¤ò°ì¤Ä¤Ë¤Þ¤È¤á¤Þ¤¹¡£
£·¡Ë°ì¤Ä¤Ë¤Þ¤È¤á¤¿ÌÀ¤«¤ê¤ò¤â¤È¤Ë¡¢¤É¤Î¤è¤¦¤ÊÅô¶ñ¤Ç¤É¤ÎÊý¸þ¤«¤éÌÀ¤«¤ê¤òºî¤ì¤ÐÎɤ¤¤«¤ò¹Í¤¨¡¢¡Ö¾ÈÌÀ»Å¹þ¤ß¿Þ¡×¤ò½ñ¤­¤Þ¤¹¡£
£¸¡Ë¥ª¥Ú¥ì¡¼¥¿¤Ë¡Ö¾ÈÌÀ»Å¹þ¤ß¿Þ¡×¤ò¤â¤È¤Ë¥¤¥á¡¼¥¸¤òÅÁ¤¨¤Þ¤¹¡£
£·¡Ý£²¡¥¥ª¥Ú¥ì¡¼¥¿¤Î»Å»ö
£±¡Ë¥×¥é¥ó¥Ê¡¼¤«¤é»Å¹þ¤ß¿Þ¤ò¼õ¼è¤ê¡¢¤É¤Î¾ìÌ̤ǤɤΤ褦¤ÊÌÀ¤«¤ê¤òºî¤ë¤Î¤«¤òÇİ®¤·¤Þ¤¹¡£
£²¡Ë·Î¸Å¤Ë»²²Ã¤·¡¢¤É¤³¤Ç¤É¤Î¤è¤¦¤ÊÌÀ¤«¤ê¤¬Æþ¤ë¤Î¤«¤òÌò¼Ô¤Î¥¿¥¤¥ß¥ó¥°¤È¶¦¤Ëª¤¨¤Þ¤¹¡£
£³¡Ë·Î¸Å¤ÎÃæ¤ÇÌÀ¤«¤ê¤Îή¤ì¤ò¥¤¥á¡¼¥¸¤·¡¢¥·¥å¥ß¥ì¡¼¥È¤·¤Þ¤¹¡£
£´¡Ë¥¢¥¤¥Ç¥¢Åù¤ò±é½Ð¤ÈÂǹ礻¤ò¤·¤Þ¤¹¡£
£µ¡Ë¥ß¥¶¥ó¥¹¤¬·è¤Þ¤Ã¤Æ¤­¤¿¤é¡¢»Å¹þ¤ß¿Þ¤ò¼Çµï¤Ë¹ç¤ï¤»¤Æ½¤Àµ¤·¤Þ¤¹¡£
£¶¡ËÌÀ¤«¤ê¤¬»Å¹þ¤á¤ë¾ì¹ç¤Ï»Å¹þ¤ß¡¢·Î¸Å¤Ë¹ç¤ï¤»¤ÆÌÀ¤«¤ê¤òÆþ¤ì¤Þ¤¹¡£
£·¡Ë¡Ö£Ñ¥·¡¼¥È¡×¤òºî¤ê¤Þ¤¹¡£
¡ö¡Ö£Ñ¥·¡¼¥È¡×¡¦¡¦¡Ö£Ñ¡Ê¥­¥å¡¼¡Ë¡×¤È¤Ï¡¢¥­¥Ã¥«¥±¤Î¤³¤È¤Ç¡¢ÌÀ¤«¤ê¤ÎÊѹ¹¤Î¥­¥Ã¥«¥±¤äÌÀ¤ë¤µÅù¤ò½ñ¤­¹þ¤ó¤Àɽ¡£ÂæËÜÆâ¤Ë½ñ¤­¹þ¤ó¤Ç¡Ö£Ñ¥·¡¼¥È¡×¤È¤¹¤ë¡¡¤³¤È¤â¤¢¤ê¤Þ¤¹¡£
£¸¡Ë¸ø±éľÁ°¤Ë¡ÖÌÀ¤«¤ê¹ç¤ï¤»¡×¤ò¹Ô¤¤¤Þ¤¹¡£
¡ö¡ÖÌÀ¤«¤ê¹ç¤ï¤»¡×¡¦¡¦¡Ö¥·¥å¡¼¥Æ¥£¥ó¥°¡×¤È¤â¸À¤¤¡¢Ìܻؤ·¤¿½ê¤ËͽÄê¤ÎÌÀ¤«¤ê¤¬Åö¤¿¤Ã¤Æ¤¤¤ë¤«¡¢ÌÀ¤«¡¡¤ê¤Î¥Ð¥é¥ó¥¹¤ÏÎɤ¤¤«¡¢Åù¤òÌò¼Ô¡¢±é½Ð¤Ë¶¨ÎϤ·¤Æ ¤â¤é¤Ã¤Æ¡¢ÌÀ¤«¤ê¤ÎÊý¸þ¡¢Â礭¤µ¡¢ÌÀ¤ë¤µÅù¤ò·è¤á¤ë¤³¤È¤ò¸À¤¤¤Þ¤¹¡£¤â¤Á¤í¤ó¡¢¤³¤Î·ë²Ì¤Ï¡Ö£Ñ¥·¡¼¥È¡×¤ËÈ¿±Ç¤µ¤ì¤Þ¤¹¡£
£¹¡Ë¸ø±é¤Ç¼ÂºÝ¤ËÌÀ¤«¤ê¤ò¤¤¤ì¤Þ¤¹¡£
¥ª¥Ú¥ì¡¼¥¿¤Ï¡¢£Ñ¥·¡¼¥È¤ò¤â¤È¤ËÌÀ¤«¤ê¤òÆþ¤ì¤ì¤ÐÎɤ¤¤È»×¤ï¤ì¤¬¤Á¤Ç¤¹¤¬¡¢·è¤·¤Æ¤½¤ó¤Ê»ö¤Ï¤¢¤ê¤Þ¤»¤ó¡£ÉñÂæ¤ÏÀ¸¤­Êª¤Ç¤¹¡£Ìò¼Ô¤Î¥¿¥¤¥ß¥ó¥°¤âɽ½Ð¤â¤½¤Î¤¿¤Ó¤Ë°ã¤Ã¤Æ¤­¤Þ¤¹¡£¥ª¥Ú¥ì¡¼¥¿¤Ï¤½¤ì¤Ë¹ç¤ï¤»¤Æ¾ÈÌÀ¤ò¹Ô¤¦É¬Íפ¬¤¢¤ê¤Þ¤¹¡£¥ª¥Ú¥ì¡¼¥¿¤Ï»Ñ¤Î¸«¤¨¤Ê¤¤Ìò¼Ô¤Ç¤¹¡£

¥Û¡¼¥à¥Ú¡¼¥¸ |Ìܼ¡ |Á°¾Ï |¼¡¹àÌÜ |¼¡¾Ï


µ¡´ïÊÔ

¥Û¡¼¥à¥Ú¡¼¥¸ |Ìܼ¡ |Á°¾Ï |ËÜ¾Ï¥È¥Ã¥× |¼¡¹àÌÜ |¼¡¾Ï

£±¡¥¹¥¤­¤Ê¤¢¤Ê¤¿¤Î¤¿¤á¤Ê¤é¤Ð¡¡¡ÝÃΤé¤Í¤Ð¤Ê¤é¤Ì»öÊÁ

¼ÂºÝ¤Ë¡¢¾ÈÌÀ¤òôÅö¤¹¤ë¤¿¤á¤Ë¤Ï¡¢¾ÈÌÀµ¡´ï¤Î̾Á°¡¢ÀßÃÖ¾ì½ê¡¢ÀßÃÖ ÊýË¡¡¢µ¡´ï¤Î¼è¤ê°·¤¤ÊýË¡¤Ê¤É¤òÃΤëɬÍפ¬¤¢¤ê¤Þ¤¹¡£¤³¤³¤Ç¤Ï¡¢¾ÈÌÀ ¤òôÅö¤¹¤ë¾ì¹çÃΤäƤª¤«¤Ê¤±¤ì¤Ð¤Ê¤é¤Ê¤¤µ¡´ï¤Î̾¾Î¡¢¼è¤ê°·¤¤ÊýË¡ ¤Ë¤Ä¤¤¤Æ½Ò¤Ù¤Þ¤¹¡£

¥Û¡¼¥à¥Ú¡¼¥¸ |Ìܼ¡ |Á°¾Ï |ËÜ¾Ï¥È¥Ã¥× |Á°¹àÌÜ |¼¡¹àÌÜ |¼¡¾Ï

£²¡¥·¯¤Î̾¤Ï¡¡¡½¾ÈÌÀ¤Ë»È¤ï¤ì¤ëµ¡´ï

£²¡Ý£±¡¥ÃË¡©½÷¡©¡¡¡ÝÅô¶ñ
¾ÈÌÀ¤Ë»ÈÍѤµ¤ì¤ëµ¡´ï¤ÎÆâ¡¢ÌÀ¤«¤ê¤½¤Î¤â¤Î¤òȯ¤¹¤ëµ¡´ï¤òÅô¶ñ¤È¸À¤¤¤Þ¤¹¡£Åô¶ñ¤Ï¼ïÎà¤È»ÈÍѾì½ê¤Ë¤è¤Ã¤ÆÊ£»¨¤ËÆþ¤êÁȤó¤Ç¸Æ¤Ð¤ì¤Æ¤¤¤Þ¤¹¤¬Â礭¤¯Ê¬¤±¤Æ¼¡¤Î¤è¤¦¤Ë¤Ê¤ê¤Þ¤¹¡£
£±¡Ë¥Õ¥é¥Ã¥È¥é¥¤¥È¡Ê¥¹¥È¥ê¥Ã¥×¥é¥¤¥È¡Ë
Á°¤Ë¥ì¥ó¥º¤ÎÉÕ¤¤¤Æ¤¤¤Ê¤¤Åô¶ñ¤Ç¤¹¡£
½À¤é¤«¤¯¶­ÌܤΤʤ¤ÌÀ¤«¤ê¤ò¤Ä¤¯¤ê¤Þ¤¹¡£
ñÆÈ¤Ç»±¤ÎÉÕ¤¤¤¿¤â¤Î¡Ê¥Õ¥é¥Ã¥È¤È¸Æ¤Ð¤ì¤ë¡Ë¤È¿¿ô¤¬Ï¢·ë¤µ¤ì¤¿¤â¤Î¡Ê¥¹¥È¥ê¥Ã¥×¤È¸Æ¤Ð¤ì¤ë¡Ë¤¬¤¢¤ê¤Þ¤¹¡£
£²¡Ë¥¹¥Ý¥Ã¥È¥é¥¤¥È
Á°¤Ë¥ì¥ó¥º¤ÎÉÕ¤¤¤¿Åô¶ñ¤Ç¤¹¡£¤¢¤ëÈÏ°ÏÆâ¤Ç¸÷¤Î¤¢¤¿¤ëÂ礭¤µ¤òÄ´À°¤¹¤ë¤³¤È¤¬½ÐÍè¤Þ¤¹¡£¶¯¤¯ÌÀ¤ë¤¤ÌÀ¤«¤ê¤ò¤Ä¤¯¤ê¤Þ¤¹¡£¥¹¥Ý¥Ã¥È¥é¥¤¥È¤Ï¥ì¥ó¥º¤Î¼ïÎà¤Ë¤è¤Ã¤Æ¼¡¤Î£²¤Ä¤¬¤¢¤ê¤Þ¤¹¡£
¡Ê£±¡ËÆÌ¥ì¥ó¥º¡Ê¥Õ¥é¥Î¥³¥ó¥Ú¥Ã¥¯¥¹¡Ë¤Î¤â¤Î¡¡¢ª¡¡Ä̾ï¤Î¥ì¥ó¥º¤Ç¶­³¦¤Î¥Ï¥Ã¥­¥ê¤·¤¿¶¯¤¤ÌÀ¤«¤ê¤Ç±¢¤¬¥¯¥Ã¥­¥ê¤È½Ð¤Þ¤¹¡£
¡Ê£²¡Ë¥Õ¥ì¥Í¥ë¥ì¥ó¥º¤Î¤â¤Î¡¡¢ª¡¡É½Ì̤¬ÆÌ±ú¤·¤¿¥ì¥ó¥º¤ò»È¤Ã¤¿¤â¤Î¤ÇÆÌ¥ì¥ó¥º¤Î¤â¤Î¤ËÈæ¤Ù¶­³¦¤Î¥Ï¥Ã¥­¥ê¤·¤Ê¤¤½À¤é¤«¤¤ÌÀ¤«¤ê¤Ç¤¹¡£
£³¡Ë¥Ô¥ó¥¹¥Ý¥Ã¥È
£±ÅÀ¤ËÌÀ¤«¤ê¤òÅö¤Æ¤ë¤¿¤á¤ËÆÃÊ̤˥ì¥ó¥º¸ú²Ì¤ò¹â¤á¤¿¥¹¥Ý¥Ã¥È¥é¥¤¥È¤ÇºÇ¤â¥·¥ã¡¼¥×¤ÊÌÀ¤«¤ê¤Ç¤¹¡£
¡ö¥Ô¥ó¥¹¥Ý¥Ã¥È¤Ï¡¢¹â¸÷Î̤Τ¿¤á¡¢ÆÃ¼ì¤ÊÅŵå¤ò»ÈÍѤ·¤Æ¤¤¤ë¡¡¾ì¹ç¤¬Â¿¤¯¡¢¼ê½ç¤ò´Ö°ã¤¨¤ë¤È¤¹¤°¶ÌÀÚ¤ì¤ò¤ª¤³¤·¤Þ¤¹¡£»ÈÍѤËÅö¤¿¤Ã¤Æ¤Ï¡¢²ñ´Û¤ÎôÅö¼Ô¤Ë¤è¤¯»ÈÍÑÊýË¡¤ÎÀâÌÀ¤òʹ¤¤¤Æ¤ª¤­¤Þ¤·¤ç¤¦¡£
£´¡Ë¥¨¥Õ¥§¥¯¥È¥Þ¥·¡¼¥ó
¥é¥¤¥È¤ÎÁ°Ì̤ǼïÈĤȸƤФì¤ë¤¹¤«¤·ÌÏÍÍ¤ÎÆþ¤Ã¤¿±ßÈפò¥â¡¼¥¿¡¼¤Ç²ó¤·Àè¶Ì¤È¸Æ¤Ð¤ì¤ë¥ì¥ó¥º¤Ç¥Û¥ê¥¾¥ó¥È¤ËÌÏÍͤò±Ç¤·½Ð¤¹Åô¶ñ¤Ç¼ïÈĤòÊѤ¨¤ë¤³¤È¤Ë¤è¤ê¡¢Àã¡¢±«¡¢±À¤Ê¤É¤Î¸ú²Ì¤òÆÀ¤ë¤³¤È¤¬½ÐÍè¤Þ¤¹¡£
¡ö²óžÊý¸þ¡¢¥¹¥Ô¡¼¥É¡¢¥Õ¥©¡¼¥«¥¹¡Ê¾ÇÅÀ¡Ë¤¬Ä´À°¤Ç¤­¤ë¤Î¤Ç¡¢¡¡¤³¤ì¤é¤òÄ´À°¤·¤Æ½Ð¤·¤¿¤¤Ê·°Ïµ¤¤òÁϤê¤Þ¤¹¡£Î㤨¤Ð¡¢Æ±¤¸¡¡±«¤Ç¤â¡¢É¹±«¤«¤éÂ籫¤Þ¤Ç¡¢¤Þ¤¿¡¢Æ±¤¸±À¤Ç¤â¡¢¤Î¤É¤«¤Ê±À¡¡¤«¤éÍò¤Î±À¤Þ¤Ç¡¢¤³¤ì¤é¤ÎÄ´À°¤Ç½Ð¤¹¤³¤È¤¬½ÐÍè¤Þ¤¹¡£
Ʊ¤¸¤è¤¦¤Ê¸ú²ÌÍÑ¥Þ¥·¡¼¥ó¤Ç¡¢¥é¥¤¥È¤ÎÁ°¤Ç±ßÅû¤Ë¥¹¥ê¥Ã¥È¤ÎÆþ¤Ã¤¿¤â¤Î¤¬²óž¤·¡¢ÇȤÎÈ¿¼Í¤¹¤ëÌÀ¤«¤ê¤ò¤Ä¤¯¤ë¥ê¥Ã¥×¥ë¥Þ¥·¡¼¥ó¤È¸Æ¤Ð¤ì¤ë¤â¤Î¤â¤¢¤ê¤Þ¤¹¡£
¡ö¥Û¥ê¥¾¥ó¥È¤ä¡¢±ó¸«¡¢Ä¥¤êʪ¡¢¿Íʪ¤Ê¤É¤ËÅö¤Æ¤Æ¡¢¿åÊÕ¤ÎÊ·¡¡°Ïµ¤¤ò½Ð¤·¤Þ¤¹¡£
£µ¡Ë¥¹¥È¥í¥Ü
Á®¸÷¡Ê½Ö´ÖŪ¤Ê¶¯¤¤¸÷¡Ë¤ò¤À¤¹Åô¶ñ¤Ç¡¢Íë¡Ê°ð¸÷¡Ë¡¢Çúȯ¡¢¤Ê¤É¤ËÍøÍѤµ¤ì¤Þ¤¹¡£¤Þ¤¿¡¢Ï¢Â³Åª¤Ëȯ¸÷¤µ¤»¤ë¤³¤È¤Ë¤è¤ê¡¢¥¹¥È¥Ã¥×¥â¡¼¥·¥ç¥óŪ¤Ê¸ú²Ì¤òÆÀ¤ë¤³¤È¤â¤Ç¤­¤Þ¤¹¡£
¤Ê¤ª¡¢¼Çµï¤Ç»ÈÍѤµ¤ì¤ëÅô¶ñ¤Ï¡¢¤Û¤È¤ó¤É¤¬Á°¤Ë¥¼¥éÏȡʣ²¡Ý£²¤Î¹à»²¾È¡Ë¤¬ÁÞÆþ¤Ç¤­¤ë¤è¤¦¤Ë¤Ê¤Ã¤Æ¤¤¤Þ¤¹¡£

¡ö·àÃĤˤ¢¤ëÅô¶ñ¡ö
¡¦£Ô£±¡Ê¥Ù¥Ó¥¹¥Ý¡¦ÊÛÅöÈ¢¡Ë¡¡¢ª¡¡£µ£°£°£×¤ÎÆÌ¥ì¥ó¥º¤Î¥¹¥Ý¥Ã¥È¥é¥¤¥È¤Ç¤¹¡£
¡¦£Ä£Æ¡¡¢ª¡¡£µ£°£°£×¤Î¥Õ¥ì¥Í¥ë¥ì¥ó¥º¤Î¥¹¥Ý¥Ã¥È¥é¥¤¥È¤Ç¤¹¡£
¡¦¥­¥í¥¹¥Ý¡¡¢ª¡¡£±£Ë£×¤ÎÆÌ¥ì¥ó¥º¤Î¥¹¥Ý¥Ã¥È¥é¥¤¥È¤Ç¤¹¡£
¡¦¥¹¥È¥ê¥Ã¥×¡¡¢ª¡¡£±£°£°£×£´ÅôÏ¢·ë¡Ê£²²óÏ©¡Ë¤Î¥Õ¥é¥Ã¥È¥é¥¤¥È¤Ç¤¹¡£
¡¦¥Õ¥é¥Ã¥È¥é¥¤¥È¡¡¢ª¡¡£²£°£°£×¤Î¥Õ¥é¥Ã¥È¥é¥¤¥È¤Ç¡¢·àÃġ֤ä¤Þ¤Ê¤ß¡×¤«¤é´ó£¤·¤Æ¤¤¤¿¤À¤­¤Þ¤·¤¿¡£
¡¦¤Î¤ó¤Ù¤¨¥é¥¤¥È¡¡¢ª¡¡£±£°£°¡Á£²£°£°£×¤Î¥Õ¥é¥Ã¥È¥é¥¤¥È¤Ç·àÃļêºî¤ê¤Ç¤¹¡£
¡¦Åû·¿¥Ï¥í¥²¥ó¡¡¢ª¡¡£µ£°£°£×¤Î¥Ï¥í¥²¥ó¥é¥ó¥×¤ò»ÈÍѤ·¤¿¥Õ¥é¥Ã¥È¥é¥¤¥È¤ÇÉۻܤµ¤ó¤Î¼êºî¤ê¤Ç¤¹¡£

£²¡Ý£²¡¥¥É¥ì¥¹¥¢¥Ã¥×¡¡¡Ý¤½¤Î¾¤Îµ¡´ï
Åô¶ñ¤Ç¤Ï¤¢¤ê¤Þ¤»¤ó¤¬¡¢¾ÈÌÀ¤ò¤¹¤ë¾ì¹ç̾Á°¤òÃΤäƤª¤«¤Ê¤±¤ì¤Ð¤Ê¤é¤Ê¤¤¤â¤Î¤¬¤¤¤¯¤Ä¤«¤¢¤ê¤Þ¤¹¡£
£±¡Ë¥×¥é¥¹¥Æ¡¼¥È¡¡¢ª¥·¡¼¥È¾õ¤Î¿§¤ÎÉÕ¤¤¤¿¥×¥é¥¹¥Á¥Ã¥¯¤Î¥Õ¥£¥ë¥à¤Ç¡¢¸÷¤Ë¿§¤òÉÕ¤±¤ë¤È¤­¤Ë»ÈÍѤ·¤Þ¤¹¡£¤½¤ì¤¾¤ì¤Î¿§¸ÇÍ­¤ÎÈÖ¹æ¤Ç¸Æ¤Ð¤ì¤Þ¤¹¡£¡ÊÍýÏÀÊÔ»²¾È¡Ë
£±Ëç¤ÎÂ礭¤µ¤ÏÌó£Á£²¥µ¥¤¥º¤Ç¡¢»ÈÍѤ¹¤ëÅô¶ñ¤Î¥¼¥éÏȤÎÂ礭¤µ¤Ë¹ç¤ï¤»¤Æ¥«¥Ã¥È¤·¤Æ»ÈÍѤ·¤Þ¤¹
£²¡Ë¥¼¥éÏÈ¡¡¢ª ¥×¥é¥¹¥Æ¡¼¥ÈÏÈ¤È¤â¸Æ¤Ð¤ì¡¢¥×¥é¥¹¥Æ¡¼¥È¤ò¶´¤ß¡¢Åô¶ñ¤ÎÁ°¤ËÉÕ¤±¤Æ¸÷¤Ë¿§¤ò¤Ä¤±¤ë¤â¤Î¡£ÀΡ¢¥×¥é¥¹¥Æ¡¼¥È¤Î̵¤¤»þÂå¤Ë¤Ï¡¢Çö¤¤¥¼¥é¥Á¥ó¤Ë¿§¤òÉÕ¤±¤Æ»ÈÍѤ· ¤Æ¤¤¤¿¤¿¤á¤³¤¦¸Æ¤Ð¤ì¤Þ¤¹¡£¸Å¤¤¾ÈÌÀ²È¤Î¿Í¤ÎÃæ¤Ë¤Ï¡¢¤¤¤Þ¤À¤Ë¥×¥é¥¹¥Æ¡¼¥È¤Î¤³¤È¤ò¥¼¥é¥Á¥ó¤Þ¤¿¤Ï¥¼¥é¤È¸Æ¤Ö¿Í¤¬¤¤¤Þ¤¹¡£
£³¡Ë¥¹¥¿¥ó¥É¡¡¢ªÉñÂæÌ̤ËÅô¶ñ¤òÀßÃÖ¤¹¤ë¾ì¹ç¡Ê¥¹¥Æ¡¼¥¸¥¹¥Ý¥Ã¥È¡¢¤³¤í¤¬¤·Åù¡Ë¤ä¥¨¥Õ¥§¥¯¥È¥Þ¥·¡¼¥ó¤ÎÀßÃÖ¡¢¤Þ¤¿²¾Àß²ñ¾ì¤Ê¤É¤Ë¤ª¤¤¤Æ¡¢Åô¶ñ¤òÀßÃÖ¤¹¤ë¤¿¤á¤Îµ¡´ï¤Ç¤¹¡£Â­¤ÎÉôʬ¤¬´Ý·Á¤Î¤â¤Î¡¢£³ËÜ­¤Î¤â¤ÎÅù¤¬¤¢¤ê¤Þ¤¹¡£¤³¤í¤¬¤·ÍѤò½ü¤­¹â¤µ¤òÄ´Àá½ÐÍè¤ë¤â¤Î¤¬¤Û¤È¤ó¤É¤Ç¤¹¡£
¹â¤µ¤ò¹â¤¯¤·¤Æ»ÈÍѤ¹¤ë¾ì¹ç¡ÊÆÃ¤Ë²¾ÀßÉñÂæ¤Ç¥Õ¥í¥ó¥È¤ä¥·¡¼¥ê¥ó¥°¤ÎÂå¤ï¤ê¤Ë»ÈÍѤ¹¤ë¾ì¹ç¡ËžÅݤ·¤ä¤¹¤¯¤Ê¤ë¤¿¤á¡¢¥¹¥¿¥ó¥É¤Î­²¼¤Ë¤ÏΩ¤ÁÆþ¤ì¤Ê¤¯¤¹¤ë¡¢¥¹¥¿¥ó¥É¤Î¿¿¤óÃæ¤è¤ê¾åÉô¤òÊɤäΤ˷ë¤Ó¤Ä¤±¤ëÅù¤ÎžÅݤòËɻߤ¹¤ë¤¿¤á¤Î°ÂÁ´ºö¤¬É¬¤ºÉ¬ÍפǤ¹¡£
£´¡Ë¤Ä¤Ê¤®¡Ê¤Ä¤Ê¤®¥³¡¼¥É¡Ë¡¡¢ª¥³¥ó¥»¥ó¥È¤ÈÅô¶ñ¤Î´Ö¤¬Î¥¤ì¤Æ¤¤¤ÆÅô¶ñ¤Î¥³¡¼¥É¤¬¥³¥ó¥»¥ó¥È¤Þ¤ÇÆÏ¤«¤Ê¤¤¾ì¹ç¡¢´Ö¤Ë»ÈÍѤ¹¤ë£±¡¥£µ£í¡Á£³£íÄøÅ٤αäĹ¥³¡¼¥É¤Ç¤¹¡£
Ä̾ï»ÈÍѤµ¤ì¤ë¥³¥ó¥»¥ó¥È¤Ï¡¢£Ô·¿¤Ç¤¹¤¬¡¢²ÈÄí¤Ç»ÈÍѤµ¤ì¤ëÊ¿¹Ô·¿¡¢¥Õ¥í¥¢¡¼¥³¥ó¥»¥ó¥È¡ÊÉñÂæÌ̤Υ³¥ó¥»¥ó¥È¡ËÍѤΣ÷¿¤Î¤â¤Î¤â¤¢¤ê¤Þ¤¹¡£¤Þ¤¿¡¢Î¾Êý¤Î¥³¥ó¥»¥ó¥È¤Î·¿¤¬°ã¤¦¤â¤Î¤â¤¢¤ê¡¢¡Ö£Ô·¿¥ª¥¹¡¢Ê¿¹Ô¥á¥¹¤Î¤Ä¤Ê¤®¡×¤Ê¤É¤È¸À¤¤¤Þ¤¹
£µ¡ËÄ´¸÷Âî¡¡¢ªÄ´¸÷Âî¤Ï¥ª¥Ú¥ì¡¼¥¿¡¼¡ÊÁàºî¼Ô¡Ë¤¬¼ÂºÝ¤Ë¼Çµï¤Î¿Ê¹Ô¤Ë¹ç¤ï¤»¤ÆÌÀ¤«¤ê¤òÅÀÅô¡¦¾ÃÅô¡¦Ä´À°¤¹¤ë¤³¤È¤Î¤Ç¤­¤ëÁõÃ֤ǡ¢¥Õ¥§¡¼¥À¡¼¤È¸Æ¤Ð¤ì¤ë¥ì¥Ð¡¼¤ä¥¹¥¤¥Ã¥Á¤¬Âô»³¤Ä¤¤¤Æ¤¤¤Þ¤¹¡£

¥Û¡¼¥à¥Ú¡¼¥¸ |Ìܼ¡ |Á°¾Ï |ËÜ¾Ï¥È¥Ã¥× |Á°¹àÌÜ |¼¡¹àÌÜ |¼¡¾Ï

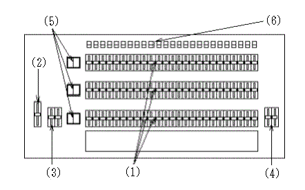
£³¡¥Ìó«¡Ê¥Ç¡¼¥È¡Ë¤Î¾ì½ê¤Ï¡¡¡½¾ì½ê¤Ë¤è¤ëÅô¶ñ¤Î¸Æ¤ÓÊý

·à¾ì¤Ç¤Ï¡¢ÀßÃÖ¾ì½ê¤Ë¤è¤Ã¤ÆÌÀ¤«¤ê¤Î̾¾Î¤¬·è¤Þ¤Ã¤Æ¤¤¤Þ¤¹¡£
¡¦ÉñÂæ¾å
¡Ê£±¡Ë¥Û¥ê¥¾¥ó¥È¥é¥¤¥È¡Ê¥¢¥Ã¥Ñ¡¼¥Û¥ê¡Ý£Õ£È¡¢¥í¡¼¥Û¥ê¡Ý£Ì£È¡Ë
¥Û¥ê¥¾¥ó¥È¤òÀ÷¤á¤ë¤¿¤á¤Î¥é¥¤¥È¤Ç¡¢¾å¤«¤éÅö¤Æ¤ë¤â¤Î¤ò¡Ö¥¢¥Ã¥Ñ¡¼¥Û¥ê¥¾¥ó¥È¡×¡¢²¼¤«¤éÅö¤Æ¤ë¤â¤Î¤ò¡Ö¥í¡¼¥ï¡¼¥Û¥ê¥¾¥ó¥È¡Ê¥í¡¼¥Û¥ê¡Ë¡×¤È¸À¤¤¤Þ¤¹¡£
¡Ö¥¢¥Ã¥Ñ¡¼¥Û¥ê¥¾¥ó¥È¡×¤Ï¡¢Ä̾ïñÆÈ¤Î¥Õ¥é¥Ã¥È¥é¥¤¥È¤¬»ÈÍѤµ¤ì¤Þ¤¹¡£¡Ö¥í¡¼¥Û¥ê¡×¤Ë¤ÏÏ¢·ë¤µ¤ì¤¿¥¹¥È¥ê¥Ã¥×¥é¥¤¥È¤¬Ä̾ï»ÈÍѤµ¤ì¤Þ¤¹¡£
¡Ê£²¡Ë¥Ü¡¼¥À¡¼¥é¥¤¥È¡Ê¥Ü¡¼¥À¡¼¡Ý£Â¡Ë
ÉñÂæ¾åÉô¤Ë²£¤Ë²¿Îó¤« ÀßÃÖ¤µ¤ì¤Æ¤¤¤ë¥é¥¤¥È¤Ç¡¢¥¹¥È¥ê¥Ã¥×¥é¥¤¥È¤¬»ÈÍѤµ¤ì¡¢´ðËÜŪ¤ËÀÖ¡¦ÀÄ¡¦ÎФλ°¸¶¿§¤ª¤è¤Ó¿§¤ÎÉÕ¤¤¤Æ¤¤¤Ê¤¤¤â¤Î¡ÊÅŵ夽¤Î¤Þ¤Þ¤Ç¡¢¥×¥é¥¹¥Æ¡¼¥È¤¬¤«¤«¤Ã¤Æ ¤¤¤Ê¤¤¤â¤Î¡ÝÀ¸¡Ê¤Ê¤Þ¡Ë¤È¤¤¤¤¤Þ¤¹¡Ë¤¬»Å¹þ¤Þ¤ì¤Æ¤¤¤Þ¤¹¡£¥Ü¡¼¥À¡¼¥é¥¤¥È¤ÏÉñÂæµÒÀʦ¤«¤é£±¥Ü¡¼¡¢£²¥Ü¡¼¤È½çÈ֤˸ƤФì¤Þ¤¹¡£
¥Ü¡¼¥À¡¼¥é¥¤¥È¤Ïºî¶ÈÌÀ¤«¤ê¤«¡¢°ÅžÌÀ¤«¤ê¤ËÍøÍѤµ¤ì¡¢·àÃæ¤ËÍøÍѤ¹¤ë¤³¤È¤Ï;¤ê¤¢¤ê¤Þ¤»¤ó¡£
¡Ê£³¡Ë¥µ¥¹¥Ú¥ó¥·¥ç¥ó¥é¥¤¥È¡Ê¥µ¥¹¡Ý£Ó£õ£ó¡Ë
ÉñÂæ¾å¤Î¥Ð¥È¥ó¤ËÄß¤ê ²¼¤²¤é¤ì¤¿¥é¥¤¥È¤Ç¡¢±éµ»¥¨¥ê¥¢¤òºî¤Ã¤¿¤ê¡¢±Æ¤ò¾Ã¤·¤¿¤ê¤¹¤ë¤¿¤á¤Ë»È¤ï¤ì¤Þ¤¹¡£Åô¶ñ¤Ï¸½ºß¤Ï¤Û¤È¤ó¤É¤¬¥Õ¥ì¥Í¥ë¥ì¥ó¥º¤Î¥¹¥Ý¥Ã¥È¥é¥¤¥È¤Ç¤¹¡£¡Ê¾®¤µ¤Ê²ñ ¾ì¤Ç¤Ï¥Õ¥é¥Ã¥È¥é¥¤¥È¤Î¤³¤È¤â¤¢¤ê¤Þ¤¹¡£¡Ë¥µ¥¹¥Ú¥ó¥·¥ç¥ó¥é¥¤¥È¤âµÒÀʦ¤«¤é£±¥µ¥¹¡¢£²¥µ¥¹¤È½çÈ֤˸ƤФì¤Þ¤¹¡£¼Çµï¤Ë¹ç¤ï¤»¤ÆÅô¶ñ¤Î°ÌÃ֡ʾå¼ê¡¢²¼ ¼ê¡Ë¡¢¿ôÎ̤¬Êѹ¹¤µ¤ì¤Þ¤¹¡£²ñ´Û¤È¸Æ¤Ð¤ì¤ë¤è¤¦¤ÊÉñÂæ¤Ç¤Î¾ÈÌÀ¤Î»Å¹þ¤ß¡Ê½àÈ÷ºî¶È¡Ë¤Î»þ´Ö¤Î¤Û¤È¤ó¤É¤¬¤³¤Î¥é¥¤¥È¤ÎÀßÄê¤ËÈñ¤ä¤µ¤ì¤Þ¤¹¡£
¡Ê£´¡Ë¥¹¥Æ¡¼¥¸¥¹¥Ý¥Ã¥È¡Ê£Ó¡¥£Ó¡Ë
ÉñÂæÂµ¤Ë¥¹¥¿¥ó¥É¤ÇÀßÃÖ¤µ¤ì¤¿¥é¥¤¥È¤Ç¡¢Á°¤«¤é¤ÎÌÀ¤«¤ê¤¬¤¢¤¿¤é¤Ê¤¤¾ì¹ç¤ä¡¢²£¤«¤é¤ÎÌÀ¤«¤ê¤¬¤Û¤·¤¤¾ì¹ç¤Ë»ÈÍѤ·¤Þ¤¹¡£Åô¶ñ¤Ï¥¹¥Ý¥Ã¥È¥é¥¤¥È¤Ç¡¢»ÈÍÑÌÜŪ¤Ë¹ç¤ï¤»¤ÆÆÌ¥ì¥ó¥º¤«¡¢¥Õ¥ì¥Í¥ë¥ì¥ó¥º¤òÁªÂò¤·¤Þ¤¹¡£
¡Ê£µ¡Ë¤³¤í¤¬¤·
ÉñÂæ¾å¤ÎÄ㤤°ÌÃÖ¤ËÀßÃÖ¤¹¤ë¥é¥¤¥È¤ò¡Ö¤³¤í¤¬¤·¡×¤È¸Æ¤Ó¤Þ¤¹¡£
¡¦µÒÀʦ
¡Ê£¶¡Ë¥Õ¥í¥ó¥È¥é¥¤¥È¡Ê¥Õ¥í¥ó¥È¡Ý£Æ£ò¡Ë
µÒÀÊÁ°¤è¤ê¤ÎËÀß ÃÖ¤µ¤ì¤¿¥é¥¤¥È¤Ç¤¹¡£¾å¼ê¤Ë¤¢¤ë¤â¤Î¤ò¾å¼ê¥Õ¥í¥ó¥È¡¢²¼¼ê¤Ë¤¢¤ë¤â¤Î¤ò²¼¼ê¥Õ¥í¥ó¥È¤È¸Æ¤Ó¤Þ¤¹¡£Åô¶ñ¤Ï¡¢ÆÌ¥ì¥ó¥º¤Î¥¹¥Ý¥Ã¥È¥é¥¤¥È¤¬¼ç¤Ç¤¹¡£¥Õ¥í¥ó¥È¤ÎÌÀ ¤«¤ê¤ÏÁ°¤«¤é¤ÎÌÀ¤«¤ê¤Ç¡ÊÁ°¤«¤é¤ÎÌÀ¤«¤ê¤ò¡ÖÁ°ÌÀ¤«¤ê¡×¡¢¤Þ¤¿¤Ï¡Ö´éÅö¤Æ¡×¤È¤â¸À¤¤¤Þ¤¹¡Ë¡¢±é·à¤ÎÌÀ¤«¤ê¤Ï´ðËÜŪ¤Ë¤³¤ÎÌÀ¤«¤ê¤¬Ãæ¿´¤Ë¤Ê¤ê¤Þ¤¹¡£
¡Ê£·¡Ë¥·¡¼¥ê¥ó¥°¥é¥¤¥È¡Ê¥·¡¼¥ê¥ó¥°¡Ý£Ã£Ì¡Ë
µÒÀÊÃæ±ûÉÕ¶á¤Î¾åÉô¤Ë¾å¼ê¤«¤é²¼¼ê¤Þ¤ÇÀßÃÖ¤µ¤ì¤¿¥é¥¤¥È¤Ç¤¹¡£±é·à°Ê³°¤ÎÉñÂæ¤Ç¤Ï¿ÍѤµ¤ì¤ëÌÀ¤«¤ê¤Ç¤¹¡£ÀµÌ̤«¤é¤ÎÌÀ¤«¤ê¤Ë¤Ê¤ê¤Þ¤¹¤Î¤Ç¡¢Ê¿ÌÌŪ¤ÊÌÀ¤«¤ê¤Ë¤Ê¤ê¤Þ¤¹¡£»ÈÍѤ¹¤ë¾ì¹ç¤ÏÃí°Õ¤¬É¬ÍפǤ¹¡£Åô¶ñ¤ÏÆÌ¥ì¥ó¥º¤Î¥¹¥Ý¥Ã¥È¥é¥¤¥È¤Ç¤¹¡£
¡Ê£¸¡Ë¥Ô¥ó¥¹¥Ý¥Ã¥È¡Ê£Ð£é£î¡Ë
¤³¤ì¤ÏÅô¶ñ¤ÈƱ¤¸Ì¾Á° ¤Ç¸Æ¤Ð¤ì¡¢±Ô¤¤ÌÀ¤«¤ê¤Î¤¿¤á¾È¼Í³Ñ¤ÎÊѲ½¤ò¾¯¤Ê¤¯¤¹¤ë¤¿¤á¤ËµÒÀʸåÊý¤Î¤¢¤ëÄøÅÙÄ㤤°ÌÃÖ¤ËÀßÃÖ¤µ¤ì¤Æ¤¤¤Þ¤¹¡£Åô¶ñ¤Ï¤â¤Á¤í¤ó¥Ô¥ó¥¹¥Ý¥Ã¥È¤Ç¤¹¡£¥Ô¥ó¥¹¥Ý¥Ã ¥È¤Ï¥Õ¥©¥í¡¼¥¹¥Ý¥Ã¥È¤È¤·»ÈÍѤ¹¤ë¤³¤È¤¬Â¿¤¤¤¿¤á¡¢¥ª¥Ú¥ì¡¼¥¿¡¼¤¬¤Ä¤¯¤³¤È¤¬¤Û¤È¤ó¤É¤Ç¤¹¡£Ìò¼Ô¤¬ºÇ¤â¤«¤Ã¤³¤è¤¯¸«¤¨¤ëÌÀ¤«¤ê¤Ç¤¹¡£
¡Ê£¸¡Ë¥Õ¥©¥í¡¼¥¹¥Ý¥Ã¥È
ÉñÂæ¾å¤ÎÌò¼Ô¤Îư¤­¤Ë ¹ç¤ï¤»¤Æ¡¢Ìò¼Ô¤òÄɤ¤¤«¤±¤ëÌÀ¤«¤ê¤ò¥Õ¥©¥í¡¼¥¹¥Ý¥Ã¥È¡Ê¥Õ¥©¥í¡¼¡¢¥Õ¥©¥í¥¹¥Ý¤È¸Æ¤Ð¤ì¤ë¤³¤È¤â¤¢¤ë¡Ë¤È¸À¤¤¤Þ¤¹¡£Åô¶ñ¤Ï¥Ô¥ó¥¹¥Ý¥Ã¥È¤ò»ÈÍѤ¹¤ë¤³¤È¤¬Â¿¤¤ ¤Î¤Ç¤¹¤¬¡¢ÆÌ¥ì¥ó¥º¤Î¥¹¥Ý¥Ã¥È¥é¥¤¥È¤ä¥Õ¥ì¥Í¥ë¤Î¥¹¥Ý¥Ã¥È¥é¥¤¥È¤òÍøÍѤ¹¤ë¾ì¹ç¤â¤¢¤ê¤Þ¤¹¡£¥Õ¥©¥í¡¼¥¹¥Ý¥Ã¥È¤Ë¤Ïɬ¤ºÁàºî¤¹¤ë¥ª¥Ú¥ì¡¼¥¿¤¬¤Ä¤­¤Þ¤¹¡£¥·¡¼ ¥ê¥ó¥°¤Î°ìÉô¤òÍøÍѤ¹¤ë¾ì¹ç¤ä¥·¡¼¥ê¥ó¥°¤Î¾ì½ê¤Ë¾®·¿¤Î¥Ô¥ó¥¹¥Ý¥Ã¥È¤òÀßÃÖ¤·¤ÆÍøÍѤ¹¤ë¾ì¹ç¡¢¥Ô¥ó¥¹¥Ý¥Ã¥È¤òÍøÍѤ¹¤ë¾ì¹ç¤¬¤¢¤ê¤Þ¤¹¡£
°Ê¾å¤Î¤è¤¦¤Ê¸Æ¤ÓÊý¤¬°ìÈÌŪ¤Ç¤¹¤¬¡¢²ñ¾ì¤Þ¤¿¤Ï¾ÈÌÀôÅö¼Ô¤Ë¤è¤Ã¤ÆÂ¿¾¯¸Æ¤ÓÊý¤¬ÊѤï¤Ã¤Æ¤¯¤ë¾ì¹ç¤â¤¢¤ê¤Þ¤¹¡£Î㤨¤Ð¥µ¥¹¥Ú¥ó¥·¥ç¥ó¤«¤éÅö¤Æ¤ë¥¹¥Ý¥Ã¥È¥é¥¤¥È¤ò£Ó¡¥£Ó¡Ê¥µ¥¹¥Ú¥ó¥·¥ç¥ó¥¹¥Ý¥Ã¥È¡Ë¤È½ñ¤¯¾ì¹ç¤â¤¢¤ê¤Þ¤¹¡£¤³¤Î¾ì¹ç¡¢¥¹¥Æ¡¼¥¸¥¹¥Ý¥Ã¥È¤ò¥¹¥¿¥ó¥É¤È¸Æ¤ó¤À¤ê¤·¤Þ¤¹¡£

¥Û¡¼¥à¥Ú¡¼¥¸ |Ìܼ¡ |Á°¾Ï |ËÜ¾Ï¥È¥Ã¥× |Á°¹àÌÜ |¼¡¾Ï

£´¡¥»ä¤ÎÁ´¤Æ¤òÃΤäơ½¾ÈÌÀ´ï¶ñÎà¤Î¹½Â¤¤È»È¤¤Êý

´ðËÜŪ¤ÊÃí°Õ¤ò£±¤Ä¤·¤Æ¤ª¤­¤Þ¤¹¡£¾ÈÌÀ´ï¶ñ¤ò°·¤¦¾ì¹ç¤Ïɬ¤º¡Ö·³¼ê¡×¤ò¤Ï¤á¤Æ²¼¤µ ¤¤¡£¤³¤ì¤Ï¡¢¤ä¤±¤É¡¦´¶ÅÅ¡¦±ø¤ì¤ÎËɻߡ¢µÚ¤ÓÅŵå¤Î¼÷Ì¿¤Î¤¿¤á¤Ç¤¹¡£Åô¶ñ¤Ïû»þ´Ö¤ÎÅÀÅô¤Ç¤â¤½¤¦¤È¤¦Ç®¤¯¤Ê¤Ã¤Æ¤¤¤Þ¤¹¡£¡ÊÅÅÎϤÎÌó£¹£°¡ó¤ÏÇ®¤Ë¤Ê¤Ã¤Æ¤¤¤Þ ¤¹¡Ë¤³¤ì¤òÁǼê¤Ç°·¤¤¤Þ¤¹¤È¡¢¤ä¤±¤É¤ò¤¹¤ë¤Ð¤«¤ê¤Ç¤Ê¤¯¡¢»×¤ï¤Ì»ö¸Î¤Ë¤Ä¤Ê¤¬¤ê¤Þ¤¹¡£¡Ê¥¢¥Ã¤È»×¤Ã¤¿½Ö´Ö¤ËÅô¶ñ¤òÍî¤È¤·¤¿¤ê¡¢µÓΩ¤«¤éÍî¤Á¤¿¤ê¤·¤Þ¤¹¡Ë¤Þ ¤¿¡¢ÁǼê¤ÇÅŵå¤ò¿¨¤ë¤ÈÅŵå¤Ë¼ê¤ÎÌý¤¬¤Ä¤­¡¢Åŵå¤Î¼÷Ì¿¤ò¶Ëü¤Ëû¤¯¤·¤Þ¤¹¡£
Åô¶ñ¤ò°·¤¦¾ì¹ç¤Ï¡¢´ðËÜŪ¤Ëɬ¤º·³¼ê¤ò¤·¤Æ²¼¤µ¤¤¡£
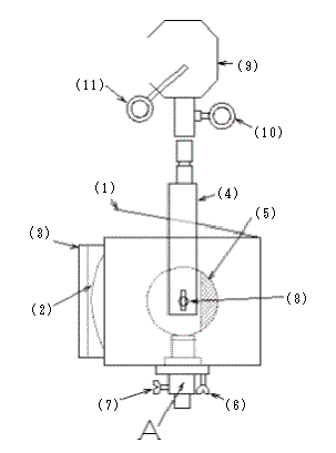
£±¡Ë¹½Â¤¤Èµ¡Ç½
Åô¶ñ¤Îµ¡Ç½¤È¤·¤Æ¤Ï¡¢¥Õ¥é¥Ã¥È¥é¥¤¥È¤Ï¸÷¤ÎÊý¸þ¤ò·è¤á¤ëµ¡Ç½¤¬¡¢¥¹¥Ý¥Ã¥È¥é¥¤¥È¤Ë¤Ï¤½¤ì¤Ë²Ã¤¨¤Æ¡¢¾È¼ÍÈϰϤò·è¤á¤ëµ¡Ç½¡Ê¥Õ¥©¡¼¥«¥¹¡Ë¤â¤¢¤ê¤Þ¤¹¡£¡Ê¾È¼ÍÈϰϤò¹­¤²¤ë¤³¤È¤ò¡Ö³«¤¯¡×¡¢¶¹¤á¤ë¤³¤È¤ò¡Ö¹Ê¤ë¡×¤È¸À¤¤¤Þ¤¹¡Ë
¤³¤ì¤é¤ÎÅô¶ñ¤Î¹½Â¤¤Èµ¡Ç½¤òÃΤäƤª¤¯¤³¤È¤¬¡¢¼ÂºÝ¤Î¾ÈÌÀ¤ò¤ä¤ë¤ËÅö¤¿¤Ã¤ÆÉ¬Íפʤ³¤È¤È¤Ê¤ê¤Þ¤¹¡£
£Ô£±¤òÎã¤Ë¤È¤ê¤Þ¤¹
¡Ê£±¡Ë³¸¡ÄÅŵå¤ò¼è¤êÂØ¤¨¤¿¤ê¡¢ÆâÉô¤ÎÀ¶Áݤλþ¤Ë³«¤±¤ë¤¿¤á¤Î³¸¤Ç¤¹¡££Ô£±¤Ï¾åÉô¤Ë¤¢¤ê¤Þ¤¹¤¬¡¢Á°¡Ê¥ì¥ó¥ºÂ¦¡Ë¤Ë¤¢¤Ã¤¿¤ê¸å¤í¡Ê¥ì¥ó¥º¤ÈÈ¿ÂЦ¡Ë¤Ë¤¢¤Ã¤¿¤ê¤·¤Þ¤¹¡£¾å²¼¤ËÂ礭¤¯Ê¬¤«¤ì¤ë¤â¤Î¤â¤¢¤ê¤Þ¤¹¡£
¡Ê£²¡Ë¥ì¥ó¥º¡Ä¸÷¤ò½¸¸÷¤¹¤ë¤¿¤á¤Î¥ì¥ó¥º¤Ç¤¹¡££Ô£±¤ÏÆÌ¥ì¥ó¥º¤Ç¤¹¤¬¡¢£Ä£Æ¤Ê¤É¥Õ¥ì¥Í¥ë¥ì¥ó¥º¤Î¤â¤Î¤â¤¢¤ê¤Þ¤¹¡£
¡Ê£³¡Ë¥×¥é¥¹¥Æ¡¼¥ÈÏȤòÁÞÆþ¤¹¤ëÉôʬ¤Ç¤¹¡£
¡Ê£´¡ËÄߤê¶â¶ñ¡Ä¥Ï¥ó¥¬¡¼¤ò»È¤Ã¤Æ¥Ð¥È¥ó¤ËËÜÂΤòÄߤ겼¤²¤ë¶â¶ñ¤Ç¤¹¡£
¡Ê£µ¡Ë¥ß¥é¡¼µå¡Ä¸å¤íȾʬ¤ò¶À¤Ë¤·¤¿¾ÈÌÀÀìÍѤÎÅŵå¤Ç¤¹¡£¸÷¤Î½Ð¤ëÊý¸þ¤¬·è¤Þ¤Ã¤Æ¤¤¤Þ¤¹¡£
¡Ê£¶¡Ë¥Õ¥©¡¼¥«¥¹Ä´À°Íѥͥ¸¡Ä ÌÀ¤«¤ê¤ÎÈϰϤò¾®¤µ¤¯¤·¤¿¤ê¡¢Â礭¤¯¤·¤¿¤ê¤¹¤ë¤¿¤á¤ÎÄ´À°¥Í¥¸¤Ç¤¹¡£¤³¤ÎÉôʬ¤ò´Ë¤á¤ë¤È¡Ö£Á¡×¤ÎÉôʬ¤¬Á°¸å¤Ëư¤«¤»¤Þ¤¹¤Î¤ÇÆâÉô¤ÎÅŵå¤ò¥ì¥ó¥º¤Ë¶á¤Å¤±¤¿ ¤ê¡¢±ó¤¶¤±¤¿¤ê¤·¤ÆÌÀ¤«¤ê¤ÎÂ礭¤µ¤ò·è¤á¡¢ºÆ¤ÓÄù¤á¤Ä¤±¤Þ¤¹¡££Ô£±°Ê³°¤Î¤â¤Î¤Ï¡¢´ï¶ñ¤Î¸å¤í¤Ë¥ì¥Ð¡¼¤¬½Ð¤Æ¤¤¤Æ¡¢¤½¤ì¤òÁ°¸å¤µ¤»¤ë¤³¤È¤Ë¤è¤êÄ´À°¤·¤Þ¤¹¡£
¡Ê£·¡ËÅŵå°ÌÃÖÄ´À°Íѥͥ¸¡Ä ¥ì¥ó¥º¤ÎÃæ¿´¤ËÂФ¹¤ë°ÌÃÖ¤òÄ´À°¤¹¤ë¤¿¤á¤Î¥Í¥¸¤Ç¤¹¡£¤³¤Î¥Í¥¸¤ò´Ë¤á¤ÆÆâ¦¤Î¥Ñ¥¤¥×¡ÊÅÅÀþ¤ÎÆþ¤Ã¤Æ¤¤¤ë¥Ñ¥¤¥×¡Ë¤ò¾å²¼¤·¤¿¤ê¡¢²ó¤·¤¿¤ê¤·¤ÆÅŵå¤Î°ÌÃÖ¤òÄ´ À°¤·¤Þ¤¹¡££Ä£Æ¤Ë¤Ï¤³¤Îµ¡Ç½¤¬¤Ä¤¤¤Æ¤¤¤Ê¤¤¤¿¤áÆâÉô¤ÎÅŵå¤òľÀÜÄ´À°¤·¤Þ¤¹¡£¡Ê£Ä£Æ¤ÎÅŵ好¥±¥Ã¥È¤ÏÄ´À°¤Ç¤­¤ë¤è¤¦¤Ë¥Ð¥Í¤Ç²¡¤µ¤¨¤é¤ì¤Æ¤¤¤Þ¤¹¡£¡Ë
¡Ê£¸¡Ë¾å²¼Ä´ÀáÍÑij¥Í¥¸¡Ä ¸÷¤Î¾å²¼¤Î³ÑÅÙ¤òÄ´À°¤¹¤ë¤¿¤á¤Î¤â¤Î¤Ç¡¢º¸±¦Î¾Â¦¤ËÃ夤¤Æ¤¤¤Þ¤¹¡£¤³¤Î¥Í¥¸¤ò´Ë¤á¡¢³ÑÅÙ¤òÄ´À°¤·¤¿¸å¤ËºÆ¤Ó¤«¤ë¤¯¡ÊÅô¶ñ¤¬»ø½¾¤ä¿¶Æ°¤Çư¤«¤Ê¤¤¤Ç¡¢°Õ¼±¤· ¤ÆÎϤò²Ã¤¨¤ì¤Ðư¤¯ÄøÅ٤ˡËÄù¤á¤Æ¤ª¤­¤Þ¤¹¡££Ô£±°Ê³°¤ÎÅô¶ñ¤Ç¤Ïij¥Í¥¸¤Ç¤Ï¤Ê¤¯°®¤ê¥Í¥¸¤¬»È¤ï¤ì¤Æ¤¤¤Þ¤¹¡£¤Þ¤¿¡¢ÊÒÊý¤Ë¤·¤«ÉÕ¤¤¤Æ¤¤¤Ê¤¤¤â¤Î¤â¤¢¤ê¤Þ¤¹¡£
¡Ê£¹¡Ë¥Ï¥ó¥¬¡¼¡ÄÅô¶ñ¤ò¥Ð¥È¥ó¤Ë¤Ä¤ë¤¹¤¿¤á¤Î¤â¤Î¤Ç¤¹¡£
¡Ê£±£°¡ËÅô¶ñ¼è¤êÉÕ¤±¥Í¥¸¡Ä Åô¶ñ¤ÎÄß¶â¶ñ¤ò¥Ï¥ó¥¬¡¼¤Ëº¹¤·¹þ¤ß¡¢¤³¤Î¥Í¥¸¤Ç¸ÇÄꤷ¤Þ¤¹¡£¤³¤Î»þ¡¢Åô¶ñ¤ÎÄß¶â¶ñ¤Î¹Â¤Ë¥Í¥¸¤¬¤·¤Ã¤«¤êÆþ¤Ã¤Æ¤¤¤ë¤³¤È¤ò³Î¤«¤á¤Æ¤¯¤À¤µ¤¤¡£¤³¤Î¥Í¥¸¤ò¤Û¤ó ¤Î¾¯¤·´Ë¤á¤Æ¸÷¤Îº¸±¦¤ÎÊý¸þ¤ò·è¤á¤Þ¤¹¡£´Ë¤á¤¿¥Í¥¸¤Ïɬ¤ºÄù¤á¤Æ¤ª¤¤¤Æ¤¯¤À¤µ¤¤¡£¡Ê¤¢¤Þ¤ê¤­¤Ä¤¯Äù¤á¤Ê¤¤¤Ç¡¢ÎϤò²Ã¤¨¤ì¤ÐÅô¶ñ¤¬º¸±¦¤Ëư¤¯¤°¤é¤¤¤Ë¤·¤Æ¤ª ¤­¤Þ¤¹¡Ë
¡Ê£±£±¡Ë¥Ð¥È¥ó¼è¤êÉÕ¤±Íѥͥ¸¡Ä¤³¤Î¥Í¥¸¤ò´Ë¤á¤Æ¥Ð¥È¥ó¤Ë¤Ï¤á¤Æ¥Í¥¸¤ò¤·¤Ã¤«¤ê¤ÈÄù¤á¤Ä¤±¤Æ¥Ï¥ó¥¬¡¼¤ò¥Ð¥È¥ó¤Ë¼è¤ê¤Ä¤±¤Þ¤¹¡£
£²¡ËÅô¶ñ¤Î»È¤¤Êý
¡Ê£±¡ËÅô¶ñ¤ò¤ª¤í¤·¤¿¾õÂÖ¤ÇÅŵå¥ì¥ó¥º¤ò´¥¤¤¤¿Éۤǿ¡¤­¡¢±ø¤ì¤äÔ¼¤ò¼è¤ê¤Þ¤¹¡£
¡Ê£²¡ËÅŸ»¤òÍѰդ·ÅÀÅô¤¹ ¤ë¤³¤È¤ò³Î¤«¤á¤Þ¤¹¡£ÆÌ¥ì¥ó¥º¤Î¥¹¥Ý¥Ã¥È¥é¥¤¥È¤Î¾ì¹ç¡¢¥Õ¥©¡¼¥«¥¹¤òºÇ¤â¹Ê¤ê¡Ê¸÷¤ÎÎØ¤ò¾®¤µ¤¯¤¹¤ë¤³¤È¤ò¡Ö¹Ê¤ë¡×¤È¤¤¤¤¡¢Â礭¤¯¤¹¤ë¤³¤È¤ò¡Ö³«¤¯¡×¤È¤¤¤¤ ¤Þ¤¹¡ËÊɤä¥Û¥ê¥¾¥ó¥È¤ò¾È¤é¤·¤Æ¤ß¤Þ¤¹¡£Åŵå¤Î¥Õ¥£¥é¥á¥ó¥È¤¬±Ç¤ë¤Î¤Ç¡¢¥Õ¥£¥é¥á¥ó¥È¤¬ÌÀ¤«¤ê¤ÎÃæ¿´¤Ë¤Ê¤ë¤Ù¤¯¤Ï¤Ã¤­¤ê¼Ì¤ë¤è¤¦¤ËÅŵå°ÌÃÖÄ´À°¥Í¥¸¤ò´Ë¤á ¤ÆÄ´À°¤·¤Þ¤¹¡£¥Õ¥ì¥Í¥ë¥ì¥ó¥º¤Î¾ì¹ç¤Ï¼Ì¤ê¤Þ¤»¤ó¤Î¤Ç¡¢¾ÃÅô¤·¤¿¾õÂ֤dz¸¤ò³«¤±¡¢¥ì¥ó¥º¤È¥ß¥é¡¼µå¤Î¶À¤ÎÉôʬ¤¬Ê¿¹Ô¤Ë¤Ê¤Ã¤Æ¤¤¤ë¤³¤È¤ò³Î¤«¤á¤Þ¤¹¡£
¡Ê£³¡Ë¥Ï¥ó¥¬¡¼¤ò¼è¤êÉÕ¤±¥Ð¥È¥ó¤Ë¼è¤ê¤Ä¤±¤Þ¤¹¡£¤³¤Î»þ¡¢Í˹»Ò¤Î¤¿¤áɬ¤ºÅô¶ñ¤ÎÄß¶â¶ñ¤È¥Ð¥È¥ó¤ò¥Ð¥¤¥ó¥ÉÀþ¤Þ¤¿¤Ï¥ï¥¤¥ä¡¼Åù¤ÇÃФߤòÊݤ¿¤»¤Æ¤·¤Ã¤«¤ê¤È·ë¤ÓÉÕ¤±¤Æ¤¯¤À¤µ¤¤¡£¤³¤ì¤ò˺¤ì¤ë¤ÈÂç»ö¸Î¤Ë¤Ê¤ê¤«¤Í¤Þ¤»¤ó¡£
¡Ê£´¡ËÅŸ»¤ò¤Ä¤Ê¤®É¬ÍפÊÌÀ¤«¤ê¤Ë¤Ê¤ë¤è¤¦¾å²¼¡Ê¾å²¼Ä´À°¥Í¥¸¤ò´Ë¤á¤Æ¹Ô¤¦¡Ëº¸±¦¡ÊÅô¶ñ¼è¤êÉÕ¤±¥Í¥¸¤ò´Ë¤á¤Æ¹Ô¤¦¡ËÌÀ¤«¤ê¤ÎÂ礭¤µ¡Ê¥Õ¥©¡¼¥«¥¹Ä´À°¥Í¥¸¤ò´Ë¤á¤Æ¹Ô¤¦¡Ë¤òÄ´À°¤·¤Þ¤¹¡£

¡¡¡¡·àÃĤˤª¤±¤ëÅŸ»¥³¡¼¥É¤Î°·¤¤Êý
·àÃĤǤÏÅŸ»¥³¡¼¥É¤È¤·¤Æ¡¢¥­¥ã¥×¥¿¥¤¥ä¡¦¾®È½·¿¡¦ÂÞÂǤÁ¤Î3¼ïÎà¤Î¥³¡¼¥É¤ò»ÈÍѤ·¤Æ¤¤¤Þ¤¹¡£¥­¥ã¥×¥¿¥¤¥ä¤Ï³¥¿§¤Þ¤¿¤Ï¹õ¤Î´Ý¤¤ÃÇÌ̤Υ³¡¼¥É¤Ç¤¹¡£¾®È½·¿¤Ï³¥¿§¤ÇÂʱߤÎÃÇÌÌÀѤΥ³¡¼¥É¤Ç¤¹¡£ÂÞÂǤÁ¤Ï¥³¥¿¥Ä¤Î¥³¡¼¥É¤Î¤è¤¦¤Ê¥³¡¼¥É¤Ç¤¹¡£
¤É¤Î¥³¡¼¥É¤Ë¤·¤Æ¤â¡¢¼ýǼ¡¦°Üư¤Î°Ù¤Ë´¬¤­¼è¤é¤Ê¤¯¤Æ¤Ï¤Ê¤ê¤Þ¤»¤ó¤¬¡¢¥í¡¼¥×¤Î¤è¤¦¤Ë¤¯¤ë¤¯¤ë¤È´¬¤¯¤È¡¢»ÈÍѤ¹¤ë¤È¤­¤Ë¥³¡¼¥É¤Î´¬¤­Êʤ¬¤Ä¤¤¤Æ¾å¼ê¤¯°·¤¨¤Þ¤»¤ó¡£¤½¤³¤Ç¡¢·àÃĤǤϥ³¡¼¥É¤ò´¬¤¯¾ì¹ç¤Ë¼¡¤Ë½Ò¤Ù¤ëÊýË¡¤Ç´¬¤­¤Þ¤¹¡£
¡Ê£±¡Ë¥³¡¼¥É¤Îɳ¤Î¤Ä¤¤¤Æ¤¤¤ë¤Û¤¦¤Îü¤òº¸¼ê¤Î¾¸¤Ë¤Î¤»¤Þ¤¹¡£¤³¤Î»þ¡¢¥³¡¼¥É¤Îü¤¬¿Æ»Ø¤È¿Íº¹¤·»Ø¤Î´Ö¤«¤é¤¹¤³¤·¿â¤ì¤ë¤è¤¦¤Ë¤Î¤»¤Þ¤¹¡£
¡Ê£²¡Ëº¸¼ê¤ò°®¤ê¡¢¥³¡¼¥É¤ò·Ú¤¯»ý¤Á¡¢±¦¼ê¤Î¥³¡¼¥É¤ò³ê¤é¤·¤Ê¤¬¤éξ¼ê¤ò¹­¤²¤Þ¤¹¡£
¡Ê£³¡Ë±¦¼ê¤Î¥³¡¼¥É¤ò¤·¤Ã¤«¤ê°®¤ê¡¢¤½¤ÎÉôʬ¤ò±¦¼ê¤ËÅϤ·¤Þ¤¹¡£¤³¤Î»þ¥³¡¼¥É¤Ïº¸¼ê¤Î¾®»Ø¤ÎÊý¤«¤é½Ð¤Æ¤¤¤Þ¤¹¤Î¤Ç¡¢¾®»Ø¤ÎÊý¤«¤éÌ᤹¤è¤¦¤ËÅϤ·¤Æ¤¯¤À¤µ¤¤¡£
¡Ê£´¡ËºÆ¤Óº¸¼ê¤ò°®¤ê¡¢±¦¼ê¤Î¥³¡¼¥É¤ò³ê¤é¤·¤Ê¤¬¤éξ¼ê¤ò¹­¤²¤Þ¤¹¡£±¦¼ê¤Î¥³¡¼¥É¤ò¤·¤Ã¤«¤ê°®¤ê¡¢¤½¤ÎÉôʬ¤ò±¦¼ê¤ËÅϤ·¤Þ¤¹¡£¤³¤Î»þ¡¢¥³¡¼¥É¤Ïº¸¼ê¤Î¿Æ»Ø¤ÎÊý¤«¤é½Ð¤Æ¤¤¤Þ¤¹¤Î¤Ç¡¢¿Æ»Ø¤ÎÊý¤«¤éÌá¤ë¤è¤¦¤ËÅϤ·¤Æ¤¯¤À¤µ¤¤¡£
¡Ê£µ¡Ë¤³¤ì¤ò¡¢¾®»ØÂ¦¡¦¿Æ»ØÂ¦¤È·«¤êÊÖ¤·¡¢¥³¡¼¥É¤ÎºÇ¸å¤Þ¤ÇÃ夿¤é¡¢º¸¼ê¤Ç°®¤Ã¤¿Éôʬ¤òɳ¤Ç·ë¤Ó¤Þ¤¹¡£

£³¡ËÄ´¸÷Âî´ØÏ¢
£³¡Ý£±¡¥¡¡Ä´¸÷¤Ë´Ø¤¹¤ë¸ÀÍÕ¡£
¡Ê£±¡Ë¥Ñ¥Ã¥Á
¤É¤ÎÅô¶ñ¡ÊÅô¶ñ¤¬¤Ä¤Ê ¤¬¤Ã¤Æ¤¤¤ë¥³¥ó¥»¥ó¥È¡Ë¤ò¤É¤Î¥Õ¥§¡¼¥À¡¼¤Ë³ä¤ê¿¶¤ë¤«¤ò·è¤á¤ë¤³¤È¤ò¡¢¥Ñ¥Ã¥Á¤È¸À¤¤¤Þ¤¹¡£ÀΤϥѥåÁÈפËľÀܥѥåÁ¥³¡¼¥É¤òº¹¤·¹þ¤ó¤ÇÇÛÀþ¤·¤Æ¤¤¤Þ¤·¤¿ ¤¬¡¢¸½ºß¤Ï¤Û¤È¤ó¤É¤¬¥³¥ó¥Ô¥å¡¼¥¿¤Ç½èÍý¤µ¤ì¤Þ¤¹¡£¥Ñ¥Ã¥Á½èÍý¤Ë¤è¤ê¥Õ¥§¡¼¥À¡¼³äÉÕɽ¤È³ÆÅô¶ñ¤¬´ØÏ¢¤Å¤±¤é¤ì¤Þ¤¹¡£
¡Ê£²¡Ë¥³¥ó¥Ý
£²¤Ä°Ê¾å¤ÎÅô¶ñ¤ò£±¤Ä¤Î¥Õ¥§¡¼¥À¡¼¤Ë³ä¤ê¿¶¤ë¤³¤È¤ò¸À¤¤¤Þ¤¹¡£¡Ö¤³¤ÎÌÀ¤«¤ê¤È¡¢¤³¤ÎÌÀ¤«¤ê¤ò¥³¥ó¥Ý¤Ç¥Õ¥§¡¼¥À¡¼£³¤Ø¡×¤Î¤è¤¦¤Ê»È¤¤Êý¤ò¤·¤Þ¤¹¡£
£³¡Ý£²¡¥Ä´¸÷Âî
¡¦¥Õ¥§¡¼¥À¡¼
¥Õ¥§¡¼¥É¥¤¥ó¡ÊÍÏÌÀ¡Ë¡¢¥Õ¥§¡¼¥É¥¢¥¦¥È¡ÊÍϰšˤò¹Ô¤¦¤â¤Î¤Ç¡¢Ä´¸÷Âî¤Ë¤º¤é¤Ã¤Èʤó¤Ç¤¤¤ë¥ì¥Ð¡¼¡Ê¥Ü¥ê¥å¡¼¥à¡Ë¤Ç¤¹¡£
¥Õ¥§¡¼¥À¡¼¤Ï¡¢¸þ¤³¤¦Â¦¤Ë¤¹¤ë¤È¡¢¤½¤Î¥Õ¥§¡¼¥À¡¼¤¬Ã´Åö¤·¤Æ¤¤¤ëÅô¶ñ¤¬¡¢ÌÀ¤ë¤¯¤Ê¤ê¡¢¼êÁ°¤Ë¤¹¤ë¤È°Å¤¯¤Ê¤ê¤Þ¤¹
¡Ê£±¡Ë¥×¥ê¥»¥Ã¥È¥Õ¥§¡¼¥À¡¼
Ä´¸÷Âî¤Ï¡¢²££±Îó¤Î ¥Õ¥§¡¼¥À¡¼¤¬£±ÁȤÎÄ´¸÷²óÏ©¤ò¹½À®¤·¤Æ¤¤¤Þ¤¹¡£Ä´¸÷Âî¤Ë¤Ï¡¢Ä̾²£°ìÎó¤Î¥Õ¥§¡¼¥À¡¼¤¬¡¢²¿Ãʤ«Ê¤ó¤Ç¤¤¤Æ¡¢¸½ºßÄ´¸÷¤·¤Æ¤¤¤ë¾¤Ë¡¢¼¡¤Î²óÏ©Åù¤ò¤¢¤é¤«¤¸ ¤áÀßÄꤷ¤Æ¤ª¤­¡¢ÀÚ¤êÂØ¤¨¤Æ»ÈÍѤ¹¤ë¤³¤È¤¬½ÐÍè¤Þ¤¹¡£¤½¤Î¤¿¤á¤Ë¡¢¤³¤ì¤é¤Î¥Õ¥§¡¼¥À¡¼¤Ï¡¢¼¡¤Ë½Ò¤Ù¤ë¡¢¥Þ¥¹¥¿¡¼¥Õ¥§¡¼¥À¡¼¡¢¥¯¥í¥¹¥Õ¥§¡¼¥À¡¼¡¢¥°¥ë¡¼¥× ¥Õ¥§¡¼¥À¡¼¤ËÂФ·¤Æ¥×¥ê¥»¥Ã¥È¥Õ¥§¡¼¥À¡¼¤È¸Æ¤Ð¤ì¤ë¤³¤È¤¬¤¢¤ê¤Þ¤¹¡£Ä´¸÷Âî¤Î»ÅÍͤòɽ¤¹¤Î¤Ë¡¢£²ÃÊ£±£²²óÏ©¤È¤«£³ÃÊ£²£µ²óÏ©¤È¤«¸À¤¤¡¢¥×¥ê¥»¥Ã¥È¤ÎÃÊ¿ô¤È Ä´¸÷²óÏ©¿ô¤òɽ¤·¤Þ¤¹¡£
¡Ê£²¡Ë¥Þ¥¹¥¿¡¼¡Ê¥á¥¤¥ó¡Ë¥Õ¥§¡¼¥À¡¼
Ä´¸÷Âî¤Î°ìÈÖº¸Â¦¤Ë£±¤Ä¤À¤±Î¥¤ì¤Æ¤¤¤ë¥Õ¥§¡¼¥À¡¼¤Ç¡¢Á´¤Æ¤Î²óÏ©¤ò°ìÅÙ¤ËÄ´¸÷¤¹¤ë¤¿¤á¤Î¤â¤Î¤Ç¤¹¡£
¡Ê£³¡Ë¥¯¥í¥¹¥Õ¥§¡¼¥À¡¼
Ä´¸÷Âî¤Îº¸Â¦¤Ë¡¢ ¡Î£Á¡Ï¡Î£Â¡Ï¤È½ñ¤«¤ì¤¿£²¤Äʤó¤À¥Õ¥§¡¼¥À¡¼¤Ç¤¹¡£Â¾¤Î¥Õ¥§¡¼¥À¡¼¤È°ã¤Ã¤Æ¡¢¡Î£Â¡Ï¤Î¥Õ¥§¡¼¥À¡¼¤Ï¡¢¼êÁ°¤Ë¤¹¤ë¤ÈÌÀ¤ë¤¯¡¢¸þ¤³¤¦Â¦¤Ë¤¹¤ë¤È°Å¤¯¤Ê¤ë¤è¤¦¤Ë ¤Ê¤Ã¤Æ¤¤¤Þ¤¹¡£¡Î£Á¡Ï¡Î£Â¡Ï¤È¤â¤½¤ì¤¾¤ì¡¢£Á¡¤£ÂÀÚ¤êÂØ¤¨¥¹¥¤¥Ã¥Á¤Ç»ØÄꤷ¤¿³ÆÃʤΥץꥻ¥Ã¥È¥Õ¥§¡¼¥À¡¼¤ÎÎóÁ´¤Æ¤òÄ´¸÷¤·¤Þ¤¹¡£Î㤨¤Ð¡Î£Á¡Ï¤ò°ìÃÊÌܤËÀß Äꤷ¡¢¡Î£Â¡Ï¤òÆóÃÊÌܤËÀßÄꤷ¤Æ¤¢¤ë¤È¤·¤Þ¤¹¡£°ìÃÊÌܤËͼÊý¤Î¥·¡¼¥ó¤ò¡¢ÆóÃÊÌܤËÌë¤Î¥·¡¼¥ó¤òÀßÄꤷ¤Æ¤¢¤ë¤È¤·¤Þ¤¹¤È¡¢¡Î£Á¡Ï¡¢¡Î£Â¡Ï£²¤Ä¤Î¥¯¥í¥¹¥Õ¥§¡¼ ¥À¡¼¤òƱ»þ¤Ëư¤«¤¹¤³¤È¤Ë¤è¤ë¤ê¡¢Í¼Êý¤Î¥·¡¼¥ó¤«¤éÌë¤Î¥·¡¼¥ó¤Ë¥¹¥à¡¼¥º¤ËÊѲ½¤µ¤»¤ë¤³¤È¤¬½ÐÍè¤Þ¤¹¡£¤Ä¤Þ¤ê¡¢ÌÀ¤«¤ê¤ò¥¯¥í¥¹¤µ¤»¤ë¤³¤È¤¬½ÐÍè¤Þ¤¹¡£
¡Ê£´¡Ë¥°¥ë¡¼¥×¥Õ¥§¡¼¥À¡¼
ÌÀ¤«¤ê¤ÎÆâ¡¢¤¤¤¯¤Ä¤«¤Î¤ß¤òƱ»þ¤ËÊѲ½¤µ¤»¤¿¤¤¾ì¹ç¤¬¤¢¤ê¤Þ¤¹¡£¤³¤Î¾ì¹ç¡¢ÊѲ½¤µ¤»¤¿¤¤¥Õ¥§¡¼¥À¡¼¤ò¥°¥ë¡¼¥×¥Õ¥§¡¼¥À¡¼¤Ë³ä¤êÅö¤Æ¤ë¤³¤È¤¬¤Ç¤­¤Þ¤¹¡£¤³¤Î¤È¤­»ÈÍѤ¹¤ë¤Î¤¬¥°¥ë¡¼¥×¥Õ¥§¡¼¥À¡¼¤Ç¡¢Ä´¸÷Âî¤Î±¦Â¦¤Ë¤¢¤ê¤Þ¤¹¡£
¡¦ÀÚ¤êÂØ¤¨¥¹¥¤¥Ã¥Á
Ä´¸÷Âî¤Ë¤Ï¡¢³Æ¼ï¤Îµ¡Ç½¤òÀÚ¤êÂØ¤¨¤ë¤¿¤á¤Î¥¹¥¤¥Ã¥Á¤¬Âô»³¤Ä¤¤¤Æ¤¤¤Þ¤¹¡£¤³¤ÎÆâ¤è¤¯»È¤¦¤â¤Î¤Ï¡¢¼¡¤Î¤è¤¦¤Ê¤â¤Î¤Ç¤¹¡£
¡Ê£µ¡Ë£Á¡¤£ÂÀÚ¤êÂØ¤¨¥¹¥¤¥Ã¥Á
¥¯¥í¥¹¥Õ¥§¡¼¥À¡¼¤Ø¤Î³ä¤êÅö¤Æ¤è¤¦¤Î¥¹¥¤¥Ã¥Á¤Ç¡¢Î㤨¤Ð¡¢»°ÃÊÌܤΥץꥻ¥Ã¥È¥Õ¥§¡¼¥À¡¼·²¤ò¥¯¥í¥¹¥Õ¥§¡¼¥À¡¼¡Î£Á¡Ï¤Ë³ä¤ê¿¶¤ê¡¢¥¯¥í¥¹¥Õ¥§¡¼¥À¡¼¡Î£Â¡Ï¤Ï°ìÃÊÌܤ˳ä¤ê¿¶¤ë¡¢¤È¸À¤¦¤è¤¦¤Ê»È¤¤Êý¤ò¤·¤Þ¤¹¡£
¡Ê£¶¡Ëľ¡¦Ä´ÀÚ¤êÂØ¤¨¥¹¥¤¥Ã¥Á
¤½¤Î¥Õ¥§¡¼¥À¡¼¤Ë³ä¤ê¿¶¤é¤ì¤Æ¤¤¤ëÅô¶ñ¤òÄ´¸÷¤¹¤ë¤Î¤«¡¢Ä¾ÀÜÅÀÅô¤¹¤ë¤Î¤«¤òÀÚ¤êÂØ¤¨¤ë¤¿¤á¤Î¥¹¥¤¥Ã¥Á¤Ç¡¢»Å¹þ¤ß»þ¤ä¡¢Êݼ顢ÅÀ¸¡»þ¤Ë»ÈÍѤ¹¤ë¤â¤Î¤Ç¤¹¡£Ä¾¤ËÀÚ¤êÂØ¤ï¤Ã¤Æ¤¤¤ë¾ì¹ç¤Ï¥Õ¥§¡¼¥À¡¼¤Ë¤è¤ëÄ´¸÷¤Ï½ÐÍè¤Þ¤»¤ó¡£


¥Û¡¼¥à¥Ú¡¼¥¸ |Ìܼ¡ |Á°¾Ï |¼¡¹àÌÜ |¼¡¾Ï

¥Æ¥¯¥Ë¥Ã¥¯ÊÔ


¥Û¡¼¥à¥Ú¡¼¥¸ |Ìܼ¡ |Á°¾Ï |ËÜ¾Ï¥È¥Ã¥× |¼¡¹àÌÜ |¼¡¾Ï

£±¡¥¤¦¤Õ¤ó¡¢¥Æ¥¯¥Ë¥·¥ã¥ó¡¡¡Ý¾ÈÌÀ¥×¥é¥ó¡¢»Å¹þ¤ß¿Þ¤ÎºîÀ®ÊýË¡

¡¡¼ÂºÝ¤Î¡¢¥×¥é¥ó¥Ê¡¼¤Î»Å»ö¤Ï¼¡¤ÎÍͤˤʤê¤Þ¤¹¡£
£±¡Ý£±¡¥¤¢¤Ê¤¿¤ÎÁ´¤Æ¤¬¤Û¤·¤¤¡¡¡ÝÌÀ¤«¤ê¤Î½ñ¤­½Ð¤·
¡¦·Î¸Å¤Ë»²²Ã¤·¡¢ Ìò¼Ô¤Îư¤­¡¢±é½Ð¤Î»×¹Í¤ò½½Ê¬¤ËÇİ®¤·¤Þ¤¹¡£¤³¤Î»þ¡¢ÌÀ¤«¤ê¤òÅö¤Æ¤ë¾ì¹ç¤Î¡¢É¬Í×À­¡¢Ê·°Ïµ¤Åù¤ò¡¢Ìò¼Ô¤¬ÌòÁϤê¤ò¤¹¤ë¤Î¤ÈƱÍͤ˥¤¥á¡¼¥¸¤òÁϤê¾å¤²¤Æ ¤¤¤­¤Þ¤¹¡£Î㤨¤Ð¡¢¤³¤Î¥·¡¼¥ó¤Ï¥¹¥Ý¥Ã¥È¥é¥¤¥È¤¬Å¬ ÀڤȤ«¡¢¤³¤³¤Ç¥Û¥ê¥¾¥ó¥È¤ò¿¿¤ÃÀ֤ˤ·¤è¤¦¤È¤«¤Ç¤¹¡£¼Çµï¤Îή¤ì¡ÊÆâÍÆ¡Ë¤ò½½Ê¬¤ËÄϤó¤Ç¥¤¥á¡¼¥¸¤·¤Þ¤¹¡£
¡¦ÉñÂæÊ¿Ì̿ޤËÁõÃÖ¤ò½ñ¤­¹þ¤ó¤À¤â¤Î¤ò¡¢É¬Íפʥ·¡¼¥ó¤ÎËç¿ô¡ÊËë¡¢·Ê¡¢¥Ô¡¼¥¹Ê¬¤Þ¤¿¤ÏÌÀ¤«¤ê¤ÎÊѲ½¤¹¤ë²ó¿ôʬ¡ËÍѰդ·¤Þ¤¹¡£
¡¦³Æ¥·¡¼¥óËè¤ËɬÍפÊÌÀ¤«¤ê¤ò¥é¥Õ¤Ë½ñ¤­¹þ¤ó¤Ç¹Ô¤­¤Þ¤¹¡£¡Ê³Æ ¥·¡¼¥ó°ìË示¤Ä»ÈÍѤ·¤Þ¤¹¡Ë¤Ä¤Þ¤ê¡¢ÌÀ¤«¤ê¤Î¥×¥é¥ó¤òΩ¤Æ¤Æ¤¤¤¯¤³¤È¤Ë¤Ê¤ê¤Þ¤¹¡£
¡ÎË볫¤­¡Ï
¡Î¤Ä¤¦¤ÎÅоì¡Ï
¤³¤Î¤è¤¦¤Ë¡¢Á´¤Æ¤Î¥·¡¼¥ó¤ÎÌÀ¤«¤ê¤ò½ñ¤­½Ð¤·¤Þ¤¹¡£ÊѲ½¤Î¾¯¤Ê¤¤¼Çµï¤Ç¤â¿ôËç¡¢ÊѲ½¤Î¿¤¤¼Çµï¤Ç¤¹¤È¿ô½½Ëç¤Ë¤Ê¤ë¤³¤È¤â¤¢¤ê¤Þ¤¹¡£
£±¡Ý£²¡¥¿§ÃË¡¢¶â¤ÈÎϤϤʤ«¤ê¤±¤ê¡¡¡ÝÅý¹ç¤¹¤ë
Á°¹à¤Ç¡¢½ñ¤­½Ð¤·¤¿ÌÀ¤«¤ê¤òÁ´¤Æ¥·¡¼¥óËè¤ËÅô¶ñ¤ò»ÈÍѤǤ­¤ë¤È´Êñ¤Ê¤Î¤Ç¤¹¤¬¡¢¤½¤ì¤Ç¤ÏËÄÂç¤ÊÎ̤ÎÅô¶ñ¤¬É¬Í×¤È¤Ê¤Ã¤Æ ¤·¤Þ¤¤¤Þ¤¹¡£¤Þ¤¿¡¢¤¿¤È¤¨Åô¶ñ¤¬³ÎÊݤµ¤ì¤Æ¤â¤½¤ì¤¾¤ì¤ÎÌÀ¤«¤ê¤òÄ´¸÷¤¹¤ëÁõÃÖ¤âÂçÊѤʿô¤Ë¤Ê¤Ã¤Æ¤·¤Þ¤¤¤Þ¤¹¡£
¤½¤³¤Ç¡¢Á´¤Æ¤Î¥·¡¼¥ó ¤ò¸«¤Ê¤¬¤é¶¦Ä̤ÊÌÀ¤«¤ê¤ËÅý°ì¤·¤Æ¤¤¤­¤Þ¤¹¡£·àÃĤηθžì¤Î¤Ç¤Ï¡¢Åô¶ñ¤Î¿ô¤¬·è¤Þ¤Ã¤Æ¤¤¤Þ¤¹¤·¡Ê£Ô £±¤¬£±£²Âæ¡¢£Ä£Æ¤¬£³Âæ¡¢Åû·¿¥Ï¥í¥²¥ó¤¬£µÂæÄøÅÙ¤·¤«¤¢¤ê¤Þ¤»¤ó¡Ë¡¢Åŵ¤ÍÆÎ̤ˤâÀ©¸Â¤¬¤¢¤ê¤Þ¤¹¡ÊºÇÂ磷£°£Á¡Ý£µ£°£°£× ¤ÎÅô¶ñ¤¬£±£´ÂæÊ¬¡Ë¡£¤Þ¤¿¡¢Ä´¸÷¤â£±£µ²óÏ©ÄøÅÙ¤·¤«¤¢¤ê¤Þ¤»¤ó¡£¤½¤ì¤é¤Î¤³¤È¤ò²ÃÌ£¤·¤Ê¤¬¤éɬÍפÊÌÀ¤«¤ê¤òÅý¹ç¤·¤Æ¤¤¤­ ¤Þ¤¹¡£
¤À¤¤¤¿¤¤¡¢À¸¤Î¡Ê¿§¤ò»ÈÍѤ·¤Ê¤¤¡ËÃÏÌÀ¤«¤ê¡Ê¥¨¥ê¥¢ÍѤÎÌÀ ¤«¤ê¡Ë¤ÈÁ°ÌÀ¤«¤ê¡¢¿§¤ò»ÈÍѤ¹¤ëÃÏÌÀ¤«¤ê¡¢ÆÃ¼ì¤ÊÌÀ¤«¤ê¤Î£³ËçÄøÅ٤ˤޤȤá¤ì¤ÐÎɤ¤¤Ç¤·¤ç¤¦¡£
¡Î¥¨¥ê¥¢¡Ê¤Ê¤Þ¡Ë¡Ï
¡Î¥¨¥ê¥¢ÀÄ¡Ï
¡Î¤½¤Î¾¡Ï
£±¡Ý£³¡¥¥é¥Ö¥ì¥¿¡¼¡¦¥Õ¥©¡¼¡¦¥æ¡¼¡¡¡Ý»Å¹þ¤ß¿Þ¤ò½ñ¤¯
Á°¹à¤Î¥×¥é¥ó¿Þ¤ò¸µ¤Ë¡¢»Å¹þ¤ß¿Þ¤ò½ñ¤­¤Þ¤¹¡£
¡¦»Å¹þ¤ß¿Þ¤Ë½ñ¤¯Åô¶ñ¤½¤Î¾¤Ïµ­¹æ¤Ç½ñ¤«¤ì¤½¤ì¤¾¤ì¼¡¤Î¤è¤¦¤Êµ­¹æ¤¬»È¤ï¤ì¤Þ¤¹¡Ê¼ÂºÝ¤Ï¤â¤Ã¤ÈÂô»³¡¢ºÙ¤«¤¯·è¤á ¤é¤ì¤Æ¤¤¤ë¤Î¤Ç¤¹¤¬¡¢¤³¤ÎÄøÅÙÃΤäƤ¤¤ì¤Ð½½Ê¬¤Ç¤·¤ç¤¦¡Ë























¡¡
̾¾Î¡¦°ÕÌ£ µ­Æþ µ­¹æ
¥Ü¡¼¥À¡¼ £Â
¡¡
¥¢¥Ã¥Ñ¡¼¥Û¥ê £Õ£È
¥í¡¼¥Û¥ê

¡¡
£Ì£È

¡¡


¡¡
¥¹¥Ý¥Ã¥È¡ÊÆÌ¡Ë
±¦¿Þ¤Ï¥µ¥¹¤Î»þ
£Ó£ð
¡¡

¡¡
£Ó£õ£ó
¥¹¥Ý¥Ã¥È¡Ê¥Õ¥ì¥Í¥ë¡Ë
±¦¿Þ¤Ï¥µ¥¹¤Î»þ
£Ó£ð
¡¡

¡¡
£Ó£õ£ó
¥Õ¥é¥Ã¥È
±¦¿Þ¤Ï¥µ¥¹¤Î»þ
£Æ£ä
¡¡

¡¡

¡¡
¥Ô¥ó¥¹¥Ý¥Ã¥È

¡¡
£Ð£é£î

¡¡


¡¡
¥Õ¥©¥í¡¼¥¹¥Ý¥Ã¥È

¡¡


¡¡


¡¡
¥¨¥Õ¥§¥¯¥È¥Þ¥·¡¼¥ó

¡¡


¡¡


¡¡
¥µ¥¹¤ÎÊý¸þ¤ò¼¨¤¹

¡¡


¡¡


¡¡
¡¡
¡¦¥Ü¡¼¥À¡¼¤Ï¡¢Ìð°õ¤Î¾å¤Ë¥Ü¡¼¥À¡¼¥Ê¥ó¥Ð¡¼¤È¿§¥Ê¥ó¥Ð¡¼¤òµ­Æþ¤¹¤ë¡£¥¢¥Ã¥Ñ¡¼¥Û¥ê¤Ï£Õ£È¤È¿§¥Ê¥ó¥Ð¡¼¤òµ­Æþ¤¹¤ë¡£
¡¿¡¡£²£Â¡Ý¡ô£×¡¢¡ô£·£¸¡¢¡ô£²£²¡¢¡ô£´£µ
¡¿¡¡£Õ£È¡Ý¡ô£·£²¡¢¡ô£¶£·¡¢¡ô£²£²
¡¦¥í¡¼¥Û¥ê¤Ï£Ì£È¤È¿§¥Ê¥ó¥Ð¡¼¤òµ­Æþ¤¹¤ë¡£
¡À¡¡£Ì£È¡Ý¡ô£·£²¡¢¡ô£¶£·¡¢¡ô£²£²¡¡¡¿
¡¦¥¹¥Ý¥Ã¥È¥é¥¤¥È¤Ë¤Ï¡¢¿§¤ò»ÈÍѤ¹¤ë¾ì¹ç¤Ï¿§¥Ê¥ó¥Ð¡¼¤ò²£¤Ë½ñ¤¯¡£¤Þ¤¿¥µ¥¹¤È¤·¤Æ»ÈÍѤ¹¤ë¾ì¹çÊý¸þ¤¬Í­¤ì¤ÐÌð°õ¤ÇÊý¸þ¤ò¼¨¤¹¡£
¡¦¥¨¥Õ¥§¥¯¥È¥Þ¥·¡¼¥ó¤Ï»È¤¦¼ïÈĤò²£¤Ë½ñ¤¯¡ÊÎ㤨¤Ð¡¢±«¡Ë
£±¡Ë»ÈÍѤǤ­¤ëÅô¶ñ¤È¡¢¥Ð¥È¥ó°ÌÃÖÅù¤ò¹Í¤¨¤Ê¤¬¤é¤É¤³¤Ë¤É¤ÎÍͤʴï¶ñ¤ò»È¤¤¤É¤ÎÍͤʿ§¤òÆþ¤ì¤ì¤Ð¤è¤¤¤«¤ò¹Í¤¨¤Þ¤¹¡£
£²¡ËÅô¶ñÅù¤ËÀ©Ì󤬤¢¤ë¾ì¹ç¡¢¤Þ¤ºÆÃ¼ì¤ÊÌÀ¤«¤ê¤«¤é¡Ê¥¹¥Ý¥Ã¥È¤Ç¤Î±éµ»¡Ë³ÎÊݤ·¤Þ¤¹¡£
£³¡Ë¼¡¤ËÁ°ÌÀ¤«¤ê¤ò¹Í¤¨¤Þ¤¹¡£
£´¡ËÀ¸¤Î¥¨¥ê¥¢ÌÀ¤«¤ê¤ò¹Í¤¨¤Þ¤¹¡£
£µ¡Ë¿§¸ú²ÌÍѤÎÌÀ¤«¤ê¤ò¹Í¤¨¤Þ¤¹¡£
¡¦»Å¹þ¤ß¿Þ¤ÎÎã
¡¦Åô¶ñ´Ö¤Ë°ú¤¤¤Æ¤¢¤ëÀþ¤Ï¡¢´ðËÜŪ¤ËƱ°ì¤Î²óÏ©¤ËÀܳ¤µ¤ì¤ë¡Ê£±¤Ä¤Î ¥Õ¥§¡¼¥À¡¼¡ÝÄ´¸÷¥ì¥Ð¡¼¡Ý¤ËÀܳ¤µ¤ì¤ë¡Ë¤³¤È¤ò¼¨¤·¤Æ¤¤¤Þ¤¹¡£
»Å¹þ¤ß¿Þ¤Ï¡¢¥×¥é¥ó¥Ê¡¼¤Î¼Çµï¤ËÂФ¹¤ëÁÛ¤¤¤¬äƤá¤é¤ì¤Æ¤¤¤Þ¤¹¡£¤¢¤Þ¤ê·Á¼°¤Ë¤³¤À¤ï¤ë¤³¤È¤Ê¤¯¡¢¤ï¤«¤ê¤ä¤¹¤¯½ñ¤¤¤Æ¤¯¤À¤µ¤¤¡£
£±¡Ý£´¡¥»°³Ñ´Ø·¸¡¡¡ÝÉñÂæ¾ÈÌÀ¤Î´ðËÜ¡ÊÊ¿°æ¿·¥Ð¡¼¥¸¥ç¥ó¡Ë
¿§¡¹¤È¹Í¤¨¤Æ¥×¥é¥ó¤ò ¡Ê»Å¹þ¤ß¿Þ¤ò¡Ë½ñ¤¯¤Î¤Ç¤¹¤¬¡¢¤Ê¤«¤Ê¤«¤¦¤Þ¤¯¹Ô¤«¤Ê¤¤¾ì¹ç¤ä¡¢Åô¶ñ¤ÎÉÔ­¡¢Åŵ¤ÍÆÎ̤ÎÉÔ­Åù¤Ç¡¢¤Ê¤ó¤È¤â¤Ê¤é¤Ê¤¤¤³¤È¤¬¤¢¤ê¤Þ¤¹¡£¤½¤¦¤¤¤¦¤È¤­¤ËÌò¤ËΩ¤Ä Ê¿°æ¿·¥Ð¡¼¥¸¥ç¥ó¤Î¾ÈÌÀ¤Î¥Î¥¦¥Ï¥¦¤ò¤ª¶µ¤¨¤·¤Þ¤¹¡£¡Ê£²£°Ç¯´Ö¡¢Åô¶ñ¤ÎÉÔ­¡¢Åŵ¤ÍÆÎ̤ÎÉÔ­¤Ë´®¤¨Ç¦¤ÓÊԤ߽Ф·¤¿ÊýË¡¤Ç¤¹¡Ë
£±¡Ë¥¨¥ê¥¢ÌÀ¤«¤ê¡Ê¥µ¥¹¡Ë¤ò¤¢¤­¤é¤á¤Þ¤¹¡£
¥µ¥¹¤Ï¡¢¤è¤±¤¤¤Ê±Æ¤ò¾Ã¤·¡¢´ÑµÒ¡¢Ìò¼Ô¤Ë±éµ»¥¨¥ê¥¢¤òǧ¼±¤µ¤»ÉñÂæ¶õ´Ö¤ò·ÁÁϤë°Ù¤ËɬÍפǤ¹¤¬¡¢¤³¤ì¤ò¤¢¤­¤é¤á¡¢Á°ÌÀ¤«¤ê¤Î¤ß¤Ç½èÍý¤·¤Þ¤¹¡£¤³¤ì¤Ç¤½¤¦¤È¤¦³Ú¤Ë¤Ê¤ê¤Þ¤¹¡£
£²¡Ë¿§¤ò¤¢¤­¤é¤á¤Þ¤¹¡£
¾®¤µ¤Ê²ñ¾ì¤Ç¤â¡¢ÉñÂæ ¤ò¤¢¤ë¿§¤ËÀ÷¤á¤ë¤¿¤á¤Ë¤Ï¾¯¤Ê ¤¯¤È¤â£³Åô°Ê¾å¤ÎÅô¶ñ¤¬¤¤¤ê¤Þ¤¹¡£ÉñÂæ¾ÈÌÀ¤Î´ðËÜ¤Ï Ìò¼Ô¤¬¸«¤¨¤ë¤³¤È¤Ê¤Î¤Ç¡¢¿§¤ò»È¤Ã¤¿·àŪ¤Ê¾ÈÌÀ¤Ï¤¢ ¤­¤é¤á¤Þ¤¹¡£¥×¥é¥ó¥Ê¡¼¤Î±é·àŪǽÎϤò¤½¤°¤³¤È¤Ë¤Ê ¤ê¤Þ¤¹¤¬¡¢ÇؤËÊ¢¤ÏÂ夨¤é¤ì¤Þ¤»¤ó¡£ÎÞ¤ò¤Î¤ó¤Ç¿§¤ò ¤¢¤­¤é¤á¤Æ¤¯¤À¤µ¤¤¡£¤¿¤À¤·¡¢¤¿¤À¤¢¤­¤é¤á¤ë¤Î¤Ç¤Ï ¤Ê¤¯¡¢£´¡Ë¤Î¤è¤¦¤ÊÊýË¡¤¬¤Ê¤¤¤«¤ò¹Í¤¨¤Æ¤¯¤À¤µ¤¤¡£
£³¡ËÉñÂæ¤ò£³¤Ä¤Î¥¨¥ê¥¢¤Ë¤ï¤±¤ë¡£
¤³¤Î¾ì¹ç¤Î¥¨¥ê¥¢¤È ¤Ï¡¢Á°ÌÀ¤«¤ê¤ÇÁϤé¤ì¤ë±éµ»¥¨¥ê¥¢¤Î¤³¤È¤Ç¤¹¡£¤½¤Î¤ª¼Çµï¤ÇɬÍפʥ¨¥ê¥¢¤Ï¤¤¤í¤¤¤í¤¢¤ë¤Ç¤·¤ç¤¦¤¬¡¢´ðËÜŪ¤Ë¾å¼ê¡¢Ãæ±û¡¢²¼¼ê¤Î£³¤Ä¤Î¥¨¥ê¥¢¤Î¤ß¤Ë¤·¤Æ¤· ¤Þ¤¤¤Þ¤¹¡£ÉԻ׵Ĥʤ³¤È¤Ç¤¹¤¬¡¢¤³¤Î£³¤Ä¤Î¥¨¥ê¥¢¤ÎÀÚ¤êÂØ¤¨¤Ç²¿¤È¤«±éµ»¥¨¥ê¥¢¤ÎÀÚ¤êÂØ¤¨¤¬½ÐÍè¤ë¤â¤Î¤Ç¤¹¡£
¿¾¯Åô¶ñ¤Ë;͵¤Î¤¢¤ë¾ì¹ç¤Ï¡¢Ãæ±û¤òÁ°¸å¤Ëʬ¤±¤Æ£´¤Ä¤Î¥¨¥ê¥¢¤Ë¤¹¤ë¤«¡¢¸å¤í¤ò£²¤Ä¤Î¥¨¥ê¥¢¤Ëʬ¤±¤Æ£µ¤Ä¤Î¥¨¥ê¥¢¤Ë¤·¤Þ¤¹¡£
ÍýÁÛŪ¤Ë¤Ï¡¢¾å¼ê¡¢Ãæ±û¡¢²¼¼ê¤òÁ°¸å¤Ëʬ¤±¤Æ£¶¤Ä¤Î¥¨¥ê¥¢¤ò¤Ä¤¯¤ì¤Ð´°àú¤Ç¤¹¡£¤è¤Û¤ÉÆÃ¼ì¤Ê¼Çµï¤Ç¤Ê¤¤¸Â¤ê£¶¤Ä¤Î¥¨¥ê¥¢¤¬¤¢¤ì¤Ð¤Û¤ÜÌäÂê¤Ê¤¯¾ÈÌÀ¤¬½ÐÍè¤Þ¤¹¡£
¡Î£³¤Ä¤Ëʬ¤±¤¿¾ì¹ç¡Ï
¡Î£´¤Ä¤Þ¤¿¤Ï£µ¤Ä¤Ëʬ¤±¤¿¾ì¹ç¡Ï
¡Î£¶¤Ä¤Ëʬ¤±¤¿¾ì¹ç¡Ê¤³¤ì¤Ç´°àú¡Ë¡Ï
£´¡Ë¾Ýħ¤äºø³Ð¤òÍøÍѤ¹¤ë¡£
£³¡Ë¤Ç¡¢¿§¤ò¤¢¤­¤é¤á ¤ë¤È¸À¤¤¤Þ¤·¤¿¤¬¡¢³Î¤«¤ËÉñÂæ Á´ÂΤò¿§¤Å¤±¤¹¤ë¤Ë¤ÏÂô»³¤ÎÅô¶ñ¤¬É¬Íפˤʤê¤Þ¤¹¡£ ¤½¤³¤Ç¡¢¾¯¤Ê¤¤Åô¶ñ¤Ç¿§¤òÉÕ¤±¤ë¤Ë¤Ï¡¢¾Ýħ¤äºø³Ð¤ò ÍøÍѤ·¤Þ¤¹¡£Î㤨¤Ð¡¢Ìë¤Î¥·¡¼¥ó¤ÇÉñÂæÁ´ÂΤòÀĤ¯À÷ ¤á¤é¤ì¤Ê¤¤¾ì¹ç¡¢³¹Åô¤Î¼þ¤ê¤À¤±ÀĤ¯À÷¤á¤Þ¤¹¡£²È¤Î Êɤ䡢Á뤫¤é¸«¤¨¤ë±ó¸«¤Ê¤É¤Ç¤âƱ¤¸¸ú²Ì¤¬¤¢¤ê¤Þ¤¹¡£ ¥Û¥ê¥¾¥ó¥È¤¬ÀÖ¤¯À÷¤á¤é¤ì¤Ê¤¤¾ì¹ç¤Ï¡¢ÀÖ¤¤±Ô¤¤°ì¶Ú ¤Î¸÷¤ò¥Û¥ê¥¾¥ó¥È¤ËÅö¤Æ¤ë¤À¤±¤Ç¤âÂ礭¤Ê¸ú²Ì¤¬¤¢¤ê ¤Þ¤¹¡£¤³¤Î¤è¤¦¤Ë¡¢¤É¤³¤«°ì¥«½ê¡¢¿§¤ò»È¤¦¤³¤È¤Ë¤è ¤Ã¤Æ¾Ýħ¤µ¤»¤¿¤êºø³Ð¤µ¤»¤¿¤ê¤Ç¤­¤Ê¤¤¤«¤ò¹Í¤¨¤Þ ¤¹¡£
£µ¡Ë¥¯¥í¥¹¡¦¥·¥å¡¼¥Æ¥£¥ó¥°
Â礭¤Ê²ñ¾ì¤ÇµÒÀʤÈÉñÂæ¤¬Î¥¤ì¤Æ¤¤¤ë¾ì¹ç¤Ï¡¢¤¢¤Þ¤êµ¤¤Ë¤·¤Ê¤¤¤Ç¤âÎɤ¤¤Î¤Ç¤¹¤¬¡¢¾®¤µ¤Ê²ñ¾ì¤ÇÉñÂæ¤ÈµÒÀʤ¬¶á¤¤¾ì¹ç¡¢´éÅö¤Æ¤ÎÌÀ¤«¤ê¤ÎÊý¸þ¤ËÃí°Õ¤¬É¬ÍפǤ¹¡£
µÒÀʤÈÉñÂæ¤¬±ó¤¤¾ì¹ç¤Ï¡¢ÀµÌ̤«¤é¤ÎÌÀ¤«¤ê¤ÎÊý¸þ¤È´ÑµÒ¤ÎÌÜÀþ¤ÎÊý¸þ¤Ï¤¢¤Þ¤ê°ã¤¤¤Þ¤»¤ó¤¬¡¢µÒÀʤÈÉñÂæ¤¬¶á¤¤¾ì¹ç¡¢ÉñÂæ¤Î¾å¼ê¡¢¤Þ¤¿¤Ï²¼¼ê¤ÎÌò¼Ô¤ËÀµÌ̤«¤é¤À¤±¤ÎÌÀ¤«¤ê¤Ç¤ÏÈ¿ÂЦ¤Î´ÑµÒ¤«¤é¤Ï±¢¤¬½ÐÍè¤Æ¤·¤Þ¤¤¤Þ¤¹¡£
¡¡¤½¤³¤Ç¡¢Á°ÌÀ¤«¤ê¡Ê´éÅö¤Æ¡Ë¤ò¾¯¤Ê¤¯¤È¤â£²Åô¡¢½ÐÍè¤ì¤Ð£³Åô¤ÇÂоݤ˸þ¤«¤Ã¤Æ¥¯¥í¥¹¤¹¤ë¤è¤¦¤ËÅö¤Æ¤Þ¤¹¡£¤³¤¦¤¹¤ë¤³¤È¤Ë¤è¤êµÒÀʤΤɤΰÌÃÖ¤«¤é¤âÌò¼Ô¤ò´Ñ¤ë¤³¤È¤¬½ÐÍè¤ë¤è¤¦¤Ë¤Ê¤ê¤Þ¤¹¡£
£±¡Ý£µ¡¥¤½¤Îµ¤¤Ë¤µ¤»¤ëÊ·°Ïµ¤¤Ë¡¡¡ÝÌò¼Ô¤Î¤¿¤á¤Ë
¾ÈÌÀ¤Î´ðËܤ¬¡¢´ÑµÒ¤Ë Ìò¼Ô¤ò¸«¤»¤ë¤³¤È¤Ë¤¢¤ë¤Î¤ÏÅöÁ³¤Ç¤¹¤¬¡¢¤½¤ì°Ê³°¤Ë¡¢¤¢¤ëÊ·°Ïµ¤¡¢¾õ¶·¤òÁϤê½Ð¤¹¤¿¤á¤Î¤â¤Î¤Ç¤â¤¢¤ê¤Þ¤¹¡£¤³¤ì¤Ï¡¢´ÑµÒ¤Î°Ù¤À¤±¤Ç¤Ê¤¯¡¢ÉñÂæ¾å¤ÎÌò¼Ô¤Î¤¿ ¤á¤Ç¤â¤¢¤ë¤Î¤Ç¤¹¡£°áÁõ¤ä¡¢¾®Æ»¶ñ¡¢ÁõÃÖ¤¬¡¢´ÑµÒ¤Î°Ù¤À¤±¤Ç¤Ê¤¯Ìò¼Ô¤Ë¡¢¤¢¤ëÀ¤³¦¤òÄ󶡤¹¤ë¤Î¤ÈƱÍͤˡ¢¾ÈÌÀ¤âÌò¼Ô¤Ë¤¢¤ëÀ¤³¦¤ò¿®¤¸¤µ¤»¤ë¤³¤È¤¬É¬Í×¤Ç ¤¹¡£
£±¡Ý£¶¡¥¤¢¤Ê¤¿¤´¤Î¤ß¤Î»ä¤Ë¤·¤Æ¡¡¡Ý·Ý½Ñ¤ÎÁϤ
Åô¶ñ¤Î¿ô¡¢Åŵ¤ÍÆÎÌÅù ¤¢¤Þ¤ê¤ËÀ©Ìó¤¬Â¿¤¤¤È¡¢¤Ä¤¤½ÐÍè¤ë¤è¤¦¤Ë¤ä¤ë¡Ê¤³¤¦¤·¤«¤Ç¤­¤Ê¤¤¡¢¤³¤ì¤ÇÀº°ìÇաˤ褦¤Ë¤Ê¤Ã¤Æ¤·¤Þ¤¤¤¬¤Á¤Ç¤¹¡£¤·¤«¤·¡¢¾ÈÌÀ¤â¼Çµï¤È¤¤¤¦·Ý½Ñ¤ò¹½ÃÛ¤·¤Æ¤¤ ¤ë£±Í×ÁǤǤ¹¡£¥×¥é¥ó¥Ê¡¼¤Î¤½¤Î¼Çµï¤ËÂФ¹¤ë·Ý½ÑŪ¤³¤À¤ï¤ê¡Ê¥ª ¥ê¥¸¥Ê¥ê¥Æ¥£¤ä¥Ý¥ê¥·¡¼¡Ë¤¬É¬ÍפǤ¹¡£¼Çµï¤ò²õ¤·¤Æ¤·¤Þ¤¦¤è¤¦¤ÊÆÍÈô¤Ê¤³¤È¤Ï¤È¤â¤«¤¯¤È¤·¤Æ¡¢¤³¤ì¤¬¡¢¼«Ê¬¤Î¾ÈÌÀ¤À¤È¤¤¤¦¤â¤Î¤ÎÄɵá¤Ï¾ï¤ËɬÍפǤ¹¡£

¥Û¡¼¥à¥Ú¡¼¥¸ |Ìܼ¡ |Á°¾Ï |ËÜ¾Ï¥È¥Ã¥× |Á°¹àÌÜ |¼¡¾Ï

£²¡¥ÆùÂÎÇÉ¡¡¡Ý»Å¹þ¤ß¡¢¥ª¥Ú¥ì¡¼¥È¤Î¼ÂºÝ

¼ÂºÝ¤Î¥ª¥Ú¥ì¡¼¥¿¤Î»Å»ö¤Ï¼¡¤Î¤è¤¦¤Ë¤Ê¤ê¤Þ¤¹¡£
£²¡Ý£±¡¤µ¤»ý¤Á¤ò³Î¤«¤á¤Ê¤¯¤Ã¤Á¤ä¡¡¡Ý¥×¥é¥ó¥Ê¡¼¤È¤ÎÂǤÁ¹ç¤ï¤»
¥×¥é¥ó¥Ê¡¼¤«¤é»Å¹þ¤ß ¿Þ¤ò¼õ¤±¼è¤ê¡¢¥×¥é¥ó¥Ê¡¼¤Î¥¤¥á¡¼¥¸¤òÎɤ¯Ê¹¤­¤Þ¤¹¡£Åö·àÃĤξì¹ç¤Ï¡¢¥×¥é¥ó¥Ê¡¼¤È¥ª¥Ú¥ì¡¼¥¿¤ò·ó¤Í¤ë¤³¤È¤¬Â¿¤¤¤Î¤Ç¤¢¤Þ¤êɬÍפʤ¤¤«¤âÃΤì¤Þ¤»¤ó¤¬¡¢ ¥Õ¥©¥í¡¼Åù¤ò»ÈÍѤ¹¤ë¾ì¹ç¤Ï¥ª¥Ú¥ì¡¼¥¿¤¬É¬ÍפȤʤê¤Þ¤¹¤Î¤Ç¡¢¥¤¥á¡¼¥¸¤ÎÅý°ì¤ÏÂçÀڤʤ³¤È¤Ç¤¹¡£¡Ê»Å¹þ¤ß¿Þ¤Î½ÐÍè¾å¤¬¤ê¤¬ÃÙ¤¤¾ì¹ç¤¬¤¢¤ë¤Î¤Ç¡¢¤³¤Î¤³¤È¤¬ ¥ª¥Ú¥ì¡¼¥¿¤Î»Å»ö¤ÎºÇ½é¤È¤Ï¸Â¤ê¤Þ¤»¤ó¡£¼¡¤Î£²¡Ý£²¤«¤é¤Îºî¶È¤¬Àè¤Ë¤Ê¤ë¤³¤È¤¬Â¿¤¯¤¢¤ê¤Þ¤¹¡Ë
£²¡Ý£²¡¥Ç®¤¤´ãº¹¤·¡¡¡Ý·Î¸Å¤Ø¤Î»²²Ã¤½¤Î£±
¼Çµï¤Î·Î¸Å¤òÎɤ¯¸«¤Þ¤¹¡£Ìò¼Ô¤ÎÀ¸ÍýŪ¤Ê¥¿¥¤¥ß¥ó¥°¡¢´¶¾ðŪ¤Ê¥¿¥¤¥ß¥ó¥°¤òÊá¤Þ¤¨¤é¤ì¤ë¤è¤¦¤Ë¡¢¤Þ¤¿±é½Ð¤Î¥¤¥á¡¼¥¸¤òª¤¨¤é¤ì¤ë¤è¤¦¤Ë·Î¸Å¤Ë»²²Ã¤·¤Þ¤¹¡£·Î¸Å¤Ë¹ç¤ï¤»¤Æ¼«Ê¬¤ÎÃæ¤ÇÌÀ¤«¤ê¤Î¥­¥Ã¥«¥±¤ò¥¤¥á¡¼¥¸¤·¤Þ¤¹¡£
£²¡Ý£³¡¥ÁÛ¤¤¤ò¤¦¤ÁÌÀ¤±¤è¤¦¡¡¡Ý·Î¸Å¤Ø¤Î»²²Ã¤½¤Î£²
¤¢¤ëÄøÅٷθŤ¬¿Ê¤ó¤À¤é¡¢¸ýƬ¤Ç·Î¸Å¤ÎÃæ¤ËÌÀ¤«¤ê¤Î¥­¥Ã¥«¥±¤òÆþ¤ì¤Æ¤¤¤­¤Þ¤¹¡£¤Þ¤¿Æ±»þ¤Ë¡Ö£Ñ¥·¡¼¥È¡×¤òÁϤäƤ¤¤­¤Þ¤¹¡£¸ýƬ¤Ç¥­¥Ã¥«¥±¤ò·Î¸Å¤ÎÃæ¤ÇÆþ¤ì¤ë¤³¤È¤Ë¤è¤ê¡¢±é½Ð¤«¤é¤Î¥À¥á¤ò¼õ¤±¤Þ¤¹¡£
¡ö¡Ö£Ñ¥·¡¼¥È¡×¤Î½ñ¤­Êý¤Ï¡¢¼«Ê¬¤¬Íý²ò¤Ç¤­¤ë¤è¤¦¤Ë½ñ¤±¤ÐÎɤ¤¤Î¤Ç¤¹¤¬¡¢¤è¤¯»È¤ï¤ì¤ë¸ÀÍÕ¤ò¼¡¤Ë¾å¤²¤Æ¤ª¤­¤Þ¤¹¡£¤Þ¤¿¡¢Ìð°õ¤Ë¤è¤ëµ­½Ò¤â¤è¤¯»È¤ï¤ì¤Þ¤¹¡£
¡¦¥Õ¥§¡¼¥É¥¤¥ó¡Ê£Æ¡¥£É¡Ë¡¦¡¦¤æ¤Ã¤¯¤ê¤ÈÌÀ¤«¤ê¤¬Æþ¤ë¤³¤È¤ò¸À¤¤¤Þ¤¹¡£
¡¦¥Õ¥§¡¼¥É¥¢¥¦¥È¡Ê£Æ¡¥£Ï¡Ë¡¦¡¦¤æ¤Ã¤¯¤ê¤ÈÌÀ¤«¤ê¤¬Íî¤Á¤ë¡Ê°Å¤¯¤Ê¤ë¡Ë»ö¤ò¸À¤¤¤Þ¤¹¡£
¡¦Íϰšʤ褦¤¢¤ó¡Ë¡¦¡¦¥Õ¥§¡¼¥É¥¢¥¦¥È¤ÈƱ¤¸°ÕÌ£¤Ç¤¹¤¬¡¢¥Ë¥¢¥ó¥¹Åª¤Ë¥Õ¥§¡¼¥É¥¢¥¦¥È¤è¤ê¤â¤Ã¤È¤æ¤Ã¤¯¤ê°Å¤¯¤Ê¤ë¥¤¥á¡¼¥¸¤¬¤¢¤ê¤Þ¤¹¡£
¡¦¥«¥Ã¥È¥¤¥ó¡¦¡¦µÞ·ã¤ËÌÀ¤«¤ê¤¬Æþ¤ë¤³¤È¤ò¸À¤¤¤Þ¤¹¡£
¡¦¥«¥Ã¥È¥¢¥¦¥È¡¦¡¦µÞ·ã¤Ë°Å¤¯¤Ê¤ë¤³¤È¤ò¸À¤¤¤Þ¤¹¡£
¡¦°Åž¡¦¡¦¡¦°Å¤¤ Ãæ¤Ç¾ìÌÌž´¹¤¹¤ë¤³¤È¤ò¸À¤¤¤Þ¤¹¡£¤â¤·¤³¤Î »þ¡¢ÉñÂæ¾å¤Ç¤Îºî¶È¡Ê¥»¥Ã¥È¤Îž´¹¡¢Ìò¼Ô¤Î½ÐÆþ¤ê¡¢ÈÄÉÕ¤­¡Ë¤¬¤¢¤ë¾ì¹ç¤Ï¡¢°ÅžÌÀ¤«¤ê¤È¸Æ¤Ð¤ì¤ëºÇÄã¸Â¤ÎÌÀ¤«¤ê¤¬É¬Íפˤʤê¤Þ¤¹¡£Ä̾ï¤Ï¥Ö¥ë¡¼¤ÎÃÏÌÀ¤«¤ê ¡Ê¥¨¥ê¥¢ÌÀ¤«¤ê¡Ë¤ò¤´¤¯¼å¤¯Æþ¤ì¤Þ¤¹¡£¤³¤Î»þ¡¢´ÑµÒ ¤ÎÊ·°Ïµ¤¤òÀÚ¤é¤Ê¤¤¤¿¤á¡¢°ìÅÙ¿¿¤Ã°Å¤Ë¤·¤Æ¤«¤éÃÏÌÀ ¤«¤ê¤òÆþ¤ì¡¢ºî¶È½ªÎ»¸å¤â¤¦°ìÅÙ¿¿¤Ã°Å¤Ë¤·¤Æ¤«¤é¼¡¤Î¾ìÌ̤ÎÌÀ¤«¤ê¤òÆþ¤ì¤Þ¤¹¡£
¡¦£Ñ¥·¡¼¥ÈÎã¡ÊÂæËܤ˽ñ¤­¹þ¤ó¤À¾ì¹ç¡Ë
¡¦£Ñ¥·¡¼¥ÈÎã¡Ê£Ñ¥·¡¼¥È¤ò¿·¤¿¤Ëºî¤Ã¤¿¾ì¹ç¡Ë
¡öÊ̤˷è¤Þ¤Ã¤¿½ñ¤­Êý¤Ï¤¢¤ê¤Þ¤»¤ó¤Î¤Ç¡¢¼«Ê¬¤Îʬ¤«¤ê¤ä¤¹¤¤¤è¤¦¤Ë½ñ¼°¤òºî¤Ã¤Æ¤¯¤À¤µ¤¤¡£
£²¡Ý£´¡¥¤æ¤ì¤ë¿´¡¡¡Ý»Å¹þ¤ß¿Þ¤Î½¤Àµ
Ìò¼Ô¤Î¥ß¥¶¥ó¥¹¡Êư¤­¡Ë¤¬¤¢¤ëÄøÅٸǤޤäƤ­¤¿¤é¡¢Ìò¼Ô¤Îư¤­¤È¡¢ÊªÍýŪ¤Ê°ÌÃÖ¤òÇİ®¤·¤Þ¤¹¡£»Å¹þ¤ß¿Þ¤¬½ñ¤«¤ì¤¿¤È¤­ ¤ÈÌò¼Ô¤Î°ÌÃÖ´Ø·¸¤¬°ã¤Ã¤Æ¤¤¤ë¾ì¹ç¤¬¤¢¤ë¤Î¤Ç»Å¹þ¤ß¿Þ¤ò½¤Àµ¤·¤Þ¤¹¡£»Å¹þ¤ß¿Þ¤ÈÂ礭¤¯°ã¤Ã¤Æ¤¤¤ë¤è¤¦¤Ê¾ì¹ç¤Ï¡¢¥×¥é¥ó¥Ê¡¼¤ËÁêÃ̤·¤Þ¤¹¡£
£²¡Ý£µ¡¥·×²è¤òΩ¤Æ¤Æ¡¡¡Ý»Å¹þ¤ß½àÈ÷
»Å¹þ¤ß¿Þ¤ò¸µ¤Ë³ÆÅô¶ñ ¤ÎÄ´¸÷Âî¤Î¥Õ¥§¡¼¥À¡¼¤Ø¤Î³äÉÕɽ¤ò½ñ¤­¤Þ¤¹¡£³ÆÅô¶ñ¤ÎÄ´¸÷Âî¤Î¥Õ¥§¡¼¥À¡¼¤Ø¤Î³ä¤ê¿¶¤ê¤Ï¡¢´¶³ÐŪ¤Ëʬ¤«¤ê¤ä¤¹¤¯³ä¤ê¿¶¤Ã¤Æ¤¯¤À¤µ¤¤¡£Î㤨¤Ð¡¢¥Û¥ê¥¾¥ó¥È¤Î £³¿§¤¬¥Õ¥§¡¼¥À¡¼¤Î¤¤¤í¤ó¤Ê½ê¤Ë¥Ð¥é¥Ð¥é¤Ë³ä¤ê¿¶¤é¤ì¤Æ¤¤¤ë¤ÈºÙ¤«¤ÊÄ´À°¤Ë¤È¤Æ¤âÉÔÊØ¤Ç¤¹¡££±¤Ä¤Î¥¨¥ê¥¢¤ËÂФ¹¤ë¥µ¥¹¤ÈÁ°ÌÀ¤«¤ê¤ÏƱ¤¸ÍÍ¤Ê½ê¤Ø³ä¤ê¿¶¤Ã¤Æ ¤ª¤¤¤¿Êý¤¬Îɤ¤¤Ç¤·¤ç¤¦¡Ê¥µ ¥¹¤Ï¥µ¥¹¤À¤±¡¢Á°ÌÀ¤«¤ê¤ÏÁ°ÌÀ¤«¤ê¤À¤±¤È¸À¤¦³ä¤ê¿¶¤ê¤â¤¢¤ê¤Þ¤¹¡Ë¤É¤ÎÌÀ¤«¤ê¤¬¤É¤Î¥Õ¥§¡¼¥À¡¼¤ËÀܳ¤µ¤ì¤Æ¤¤¤ë¤«¤òÂΤdzФ¨¤ë¤°¤é¤¤¤Ë¡Ê¼ê¤¬¼«Æ°Åª¤Ë¤½¤Î ¥Õ¥§¡¼¥À¡¼¤Ë¹Ô¤¯¤°¤é¤¤¤Ë¡Ë²¿ÅÙ¤âÎý½¬¤·¤Þ¤¹¡£
¡¦¥Õ¥§¡¼¥À¡¼³äÉÕɽÎã


¸ø±é̾¡§¥¢¥ó¥Í¤ÎÆüµ­
¥·¡¼¥ó­â¡¡¡¡¡¡¡¡¡¡¡¡
£²¡Ý£¶¡¥¹Ôư¤¢¤ë¤Î¤ß¡¡¡Ý»Å¹þ¤ß
»Å¹þ¤ß¿Þ¤ò¸µ¤ËÅô¶ñ¤ÎÄߤê¹þ¤ß¤ò¹Ô¤¤¤Þ¤¹¡£¤Þ¤¿¡¢É¬Íפʤé¤Ð¥Õ¥§¡¼¥À¡¼³äÉÕɽ¤Ë¤·¤¿¤¬¤Ã¤Æ³ÆÅô¶ñ¤«¤éÄ´¸÷´ï¤Þ¤Ç¤ÎÇÛÀþ¤ò¹Ô¤¤¤Þ¤¹¡£Â礭¤¤²ñ¾ì¤Ê¤é¡Ê¥Ñ¥Ã¥ÁÈפΤ¢¤ë²ñ¾ì¤Ê¤é¡Ë¥Ñ¥Ã¥Á¤òÅö¤Æ¤Þ¤¹¡£¡Ê³ÆÅô¶ñ¤ò¥Õ¥§¡¼¥À¡¼³äÉÕɽ¤Ë¤·¤¿¤¬¤Ã¤Æ³ä¤êÉÕ¤±¤Þ¤¹¡Ë
£²¡Ý£·¡¥¤É¤³¤¬´¶¤¸¤ë¡©¡¡¡Ý³Æ¥·¡¼¥ó¤ÎºîÀ®
³Æ¥·¡¼¥óÁ´¤Æ¤ÎÌÀ¤«¤ê ¤òÁϤê¤Þ¤¹¡£³Æ¥·¡¼¥óËè¤Ë¼«Ê¬¤ÇÉñÂæ¤ËΩ¤Ã¤Æ¤ß¤ÆÌÀ¤«¤ê¤¬Åö¤¿¤Ã¤Æ¤¤¤ë¤³¤È¤ò³Îǧ¤·¤Þ¤¹¡ÊÌÀ¤«¤ê¤¬Åö¤¿¤Ã¤Æ¤¤¤ë¤«¤É¤¦¤«¤Ï¡¢Á°ÌÀ¤«¤ê¤ò¸«¤Æ¤Þ¤Ö¤·¤¤¤«¡¢¤Þ ¤Ö¤·¤¯¤Ê¤¤¤«¤ÇȽ¤ê¤Þ¤¹¡Ë¤Þ¤¿¡¢Ìò¼Ô¤Î¶¨ÎϤòÆÀ¤Æ¼ÂºÝ¤ËÉñÂæ¤ËΩ¤Ã¤ÆÌ㤤¡¢»×¤¦¤È¤³¤í¤Ë»×¤¦¤è¤¦¤ÊÌÀ¤«¤ê¤¬Åö¤¿¤Ã¤Æ¤¤¤ë¤«¤ò³Îǧ¤·¤Þ¤¹¡£½ÐÍ褿³Æ¥·¡¼¥ó¤Î ¥Õ¥§¡¼¥À¡¼¤ò¡Ö£Ñ¥·¡¼¥È¡×¡¢¥Õ¥§¡¼¥À¡¼³äÉÕɽ¤Ëµ­Æþ¤·¤Þ¤¹¡Ê¤³¤Î¾ì¹ç¥Õ¥§¡¼¥À¡¼³äÉÕɽ¤ÏɬÍפʥ·¡¼¥óʬÍѰդ·¤Þ¤¹¡Ë¡£·Î¸Å¾ì°Ê³°¤Î¸ø±é¤Ç¤Ï¡¢¡ÖÌÀ¤«¤ê¹ç¤ï ¤»¡Ê¥·¥å¡¼¥Æ¥£¥ó¥°¡Ë¡×¤Îû»þ´Ö¤Ç¹Ô¤ï¤Ê¤±¤ì¤Ð¤Ê¤é¤Ê¤¤¤³¤È¤â¤¢¤ê¤Þ¤¹¡£
¡¦¥Õ¥§¡¼¥À¡¼³äÉÕɽ¤Ëµ­Æþ¤·¤¿Îã


¸ø±é̾¡§¥¢¥ó¥Í¤ÎÆüµ­
¥·¡¼¥ó­â¡¡£±¡¡¡¡¡¡¡¡

£²¡Ý£¸¡¥¤³¤ì¤Ç´¶¤¸¤ë¡©¡¡¡Ý±é½Ð¤«¤é¤Î¥À¥á¤ò¼õ¤±¤ë
·Î¸Å¤ËÌÀ¤«¤ê¤òÆþ¤ì¡¢±é½Ð¤«¤é¤Î¥À¥á¤ò¼õ¤±¤Þ¤¹¡£·ë²Ì¤Ï¡Ö£Ñ¥·¡¼¥È¡×¡¢¥Õ¥§¡¼¥À¡¼³äÉÕɽ¤ËÈ¿±Ç¤µ¤»¤Þ¤¹¡£·Î¸Å¾ì°Ê³°¤Î¸ø±é¤Ç¤Ï¡¢Ä̤··Î¸Å£±È¯¾¡Éé¤Î¤³¤È¤â¤¢¤ê¤Þ¤¹¡£
£²¡Ý£¹¡¥¶»¤¬¥É¥­¥É¥­¡¡¡ÝËÜÈÖ
ËÜÈÖ¤ËÌÀ¤«¤ê¤òÆþ¤ì¤Þ¤¹¡£
¡Ö£Ñ¥·¡¼¥È¡×¡¢¥Õ¥§¡¼ ¥À¡¼³äÉÕɽ¤Ë¤·¤¿¤¬¤Ã¤ÆÌÀ¤«¤ê¤òÆþ¤ì¤Æ¤¤¤¯¤ï¤±¤Ç¤¹¤¬¡¢¡Ö£Ñ¥·¡¼¥È¡×¡¢¥Õ¥§¡¼¥À¡¼³äÉÕɽ¤Ï¡¢¤¢¤¯¤Þ¤Ç¤â³Ð¤¨½ñ¤­¤Þ¤¿¤Ï»²¹Í»ñÎÁ¤Î¤è¤¦¤Ê¤â¤Î¤Ç¤¹¡£ÉñÂæ¤Î¿Ê ¹Ô¡¢ Ê·°Ïµ¤¡¢¾õÂ֤˽¾¤Ã¤Æ¡¢É¬Íפʡ¢¤Þ¤¿Å¬Àڤʸ÷ÎÌ¡¢¥¿¥¤¥ß¥ó¥°¤¬É¬Íפˤʤê¤Þ¤¹¡£¼Çµï¤ÇɬÍפȤµ¤ì¤Æ¤¤¤ë¸÷ÎÌ¡¢¥¿¥¤¥ß¥ó¥° ¤Ï¿ôÃͲ½¤µ¤ì¤¿Êª¤Ç¤Ê¤¯º£¡¢¤³¤Î¾ì¤Ç¡¢¤³¤ÎÉñÂæ¤ÇɬÍפȤµ¤ì¤Æ¤¤¤ë¸÷ÎÌ¡¢¥¿¥¤¥ß¥ó¥°¤Ç¤Ê¤±¤ì¤Ð¤Ê¤ê¤Þ¤»¤ó¡£
£²¡Ý£±£°¡¥¼ã¤¤¤Î¤Í¡¡¡Ý¥ß¥¹¤Ë´Ø¤·¤Æ
ÉñÂæËÜÈÖ¤ËÃÖ¤¤¤Æ¡¢¾È ÌÀ¤ÏÈó¾ï¤ËÂçÀÚ¤ÊÌò³ä¤ò²Ì¤¿¤·¤Þ¤¹¡£ ¶Ëü¤Ë¸À¤¨¤Ð¡¢ÁõÃ֤ΰìÉô¤¬¤Ê¤¯¤Æ¤â¡¢¾®Æ»¶ñ¤Î£±¤Ä¤¬¤Ê¤¯¤Æ¤â¡¢ÆÃ¼ì¤Ç¤Ê¤¤¸Â¤ê°áÁõ¤¬¤Ê¤¯¤Æ¤â¼Çµï¤Ï½ÐÍè¤Þ¤¹¤¬¡¢ÌÀ¤«¤ê¤¬¤Ê¤¯¤Æ¿¿¤Ã°Å¤À¤È¼Çµï¤Ï½ÐÍè¤Þ¤» ¤ó¡£¤³¤Î¤è¤¦¤ËÂçÀڤʾÈÌÀ¤Ç¤¹¤¬¼Çµï¤ÏÀ¸¤â¤Î¤Ç¤¹¥ß¥¹¤òÈȤ¹¤³¤È¤â¿¡¹¤¢¤ê¤Þ¤¹¡£¥ß¥¹ ¤ò¾¯¤Ê¤¯¤¹¤ë¤¿¤á¤Ë¼¡¤Î¤³¤È¤ËÃí°Õ¤·¤Æ¤¯¤À¤µ¤¤¡£
¡¦¥ß¥¹¤ò°ú¤­¤º¤é¤Ê¤¤
¥ß¥¹¤òÈȤ¹¤È¡¢¤½¤Î¤³¤È¤¬µ¤¤Ë¤Ê¤Ã¤Æ¡Ê¤¢¤ï¤Æ¤Æ¤·¤Þ¤Ã¤Æ¡Ë¥Ñ¥Ë¥Ã¥¯¤Ë´Ù¤ë¤³¤È¤¬¤¢¤ê¤Þ¤¹¡£¥ß¥¹¤Ï¥ß¥¹¤È¤·¤Æ¤µ¤é¤ê¤Èή¤·¡¢ ¼¡¤Î¤³¤È¤â¤·¤¯¤Ïº£¤Î¤³¤È¤Ë½¸Ã椷¤Æ¤¯¤À¤µ¤¤¡£
¡¦¤¢¤Þ¤êÀè¤ò¹Í¤¨¤Ê¤¤
¥ß¥¹¤é¤Ê¤¤¤¿¤á¤Ë¡¢ Àè¤ØÀè¤Ø¤È¹Í¤¨¤¿¤êÍѰդ·¤¿¤ê¤·¤Æ¤·¤Þ¤¤¤¬¤Á¤Ç¤¹¤¬¡¢¤½¤¦¤¹¤ë¤È¡¢ÉñÂæ¾å¤Î¼Çµï¤Îή¤ì¤ÈÎ¥¤ì¤Æ¤·¤Þ¤¤¥­¥Ã¥«¥±¤ä¥¿¥¤¥ß¥ó¥°¤ò³°¤·¤¬¤Á¤Ë¤Ê¤ê¤Þ¤¹¡£¥ª¥Ú¥ì¡¼ ¥¿¤âÉñ Âæ¶õ´Ö¤ò¶¦Í­¤¹¤ëÌò¼Ô¤Î°ì¿Í¤Ç¤¹¡£¼Çµï¤Îή¤ì¤Ë½¾¤Ã¤Æ¿´¤òư¤«¤¹¤³¤È¤¬ÂçÀڤǤ¹¡£ÆÃ¼ì¤Ê¾ì¹ç¤ò½ü¤­£±¤Ä¤À¤±Àè¤Î¤³¤È¤òÍѰդ¹¤ë¤À¤±¤Ç½½Ê¬¤Ç¤¹¡£
£²¡Ý£±£±¡¥¥¤¥¯¤È¤­¤Ï°ì½ï¤Ë¡¡¡Ý¥ª¥Ú¥ì¡¼¥¿¤ÎÌò³ä
¤·¤Ä¤³¤¤¤è¤¦¤Ç¤¹¤¬¡¢ ¥ª¥Ú¥ì¡¼¥¿¤ÏÉñÂæ¶õ´Ö¤òÌò¼Ô¤È¶¦Í­¤¹¤ëɬÍפ¬¤¢¤ê¤Þ¤¹¡£¥ª¥Ú¥ì¡¼¥¿¤Ï¡¢»Ñ¤Î¸«¤¨¤Ê¤¤Ìò¼Ô¤Ç¤¹¡££Ñ¥·¡¼¥ÈÄ̤ê¤Îµ¡³£Åª¤Ê¥¿¥¤¥ß¥ó¥°¤äÌÀ¤ë¤µ¤òÁàºî¤¹¤ë¤Ê¤éµ¡ ³£¤Ç½½Ê¬¤Ç¤¹¡£¥ª¥Ú¥ì¡¼¥¿¤Ï°ì¿Í¤ÎÌò¼Ô¤È¤·¤ÆÉñÂæ¾å¤ÎÌò¼Ô¤Î¥¤¥­¡Ê¿´¡¢´¶¾ð¡¢ÁÛ¤¤¡¢¥ê¥º¥à¡Ë¤Ë¿´¤ò¹ç¤ï¤»¤ë¡ÊÌò¼Ô¤Î¥¤¥­¤¬´¶¤¸¤é¤ì¤ë¡ËɬÍפ¬¤¢¤ê¤Þ¤¹¡£·Î ¸Å¤ÎÃæ¤Ç¤½¤Î¥¤¥­¤ò½½Ê¬¤ËÄϤàɬÍפ¬¤¢¤ê¤Þ¤¹¡£¤É¤ó¤Ê¤Ë¾ÈÌÀ¤Î¥ª¥Ú¥ì¡¼¥¿¼¼¤¬ÉñÂæ¤«¤é±ó¤¯¤Æ¤â¡¢ÉñÂæ¾å¤ÎÌò¼Ô¤Î¥¤¥­¤Ï´¶¤¸¤é¤ì¤ë¤â¤Î¤Ç¤¹¡£Ìò¼Ô¤¬¡Ö¤³¤³ ¤Ç¡×¤È»×¤Ã¤¿½Ö´Ö¤Ë¾ÈÌÀ¤¬ÊѲ½¤¹¤ë¡£¤³¤Î¤³¤È¤¬¡¢Ìò¼Ô¤Ë¤È¤Ã¤ÆÈó¾ï¤Ê²÷´¶¤Ç¤¢¤ë¤È¶¦¤Ë¥ª¥Ú¥ì¡¼¥¿¤Î²÷´¶¤Ç¤â¤¢¤ê¡¢¼Çµï¤¬À¸¤­¤ë½Ö´Ö¤Ç¤â¤¢¤ê¤Þ¤¹¡£


¥Û¡¼¥à¥Ú¡¼¥¸ |Ìܼ¡ |Á°¾Ï |¼¡¹àÌÜ

¼Âµ»ÊÔ


¥Û¡¼¥à¥Ú¡¼¥¸ |Ìܼ¡ |Á°¾Ï |ËÜ¾Ï¥È¥Ã¥× |¼¡¹àÌÜ

£±¡¥¿¨¤Ã¤ÆÎɤ¤¤è¡¡¡Ýµ¡´ï¤Î¼è¤ê°·¤¤

£±¡Ý£±¡¥¤ä¤µ¤·¤¯¤·¤Æ¤Í¡¡¡ÝÅô¶ñ¤ÎÀ°È÷
¡¦£Ô£±¤Þ¤¿¤Ï£Ä£Æ¤ÎÅŵå¤òæÃ夷¤Æ¤ß¤Þ¤¹¡£
¡¦¥ì¥ó¥º¡¢Åŵ塢ËÜÂΤòÉۤǿ¡¤­¤Þ¤¹¡£
¡¦Åŵ¤¤òÆþ¤ì¤ÆÅÀÅô¤¹¤ë¤³¤È¤ò³Î¤«¤á¤Þ¤¹¡£
¡Î¥á¥â¡Ï
£±¡Ý£²¡¥Â礭¤¯¤Ê¤Ã¤¿¤ê¡¢¾®¤µ¤¯¤Ê¤Ã¤¿¤ê¡¡¡ÝÅô¶ñ¤ÎÄ´À°
¡¦£Ô£±¡¤£Ä£Æ¤òÍøÍѤ·¤Æº¸±¦¤Î³ÑÅÙÄ´À°¤ò¤·¤Æ¤ß¤Þ¤¹¡£
¡¦Æ±¤¸¤¯¡¢¾å²¼¤Î³ÑÅÙÄ´Àá¤ò¤·¤Æ¤ß¤Þ¤¹¡£
¡¦¥Õ¥©¡¼¥«¥¹¤òÄ´À°¤·¤Æ¸÷¤ÎÈϰϤòÄ´À°¤ò¤·¤Æ¤ß¤Þ¤¹¡£
¡Î¥á¥â¡Ï
£±¡Ý£³¡¥Á´¤Æ¤¢¤Ê¤¿¤Î»×¤¦¤Þ¤Þ¡¡¡ÝÄ´¸÷Âî¤ÎÁàºî
¡¦Ä´¸÷Âî¤ò¼ÂºÝ¤ËÁàºî¤·¤Æ¤ß¤Þ¤¹¡£
¡Î¥á¥â¡Ï

¥Û¡¼¥à¥Ú¡¼¥¸ |Ìܼ¡ |Á°¾Ï |ËÜ¾Ï¥È¥Ã¥× |Á°¹àÌÜ

£²¡¥ÌÀ¤«¤ê¤ò¾Ã¤·¤Æ¡¡¡Ý¸÷¤ÎÀ­¼Á¤Î³Îǧ

£²¡Ý£±¡¥£´£¸¼ê¡¡¡Ý¸÷¤ÎÊý¸þÀ­¤Î³Îǧ
¡¦¥µ¥¹¡¢¥Ð¥Ã¥¯¥µ¥¹¡¢£Ó£Ó¡¢¥Õ¥í¥ó¥È¡¢¥·¡¼¥ê¥ó¥°¡¢¥³¥í¥¬¥·¤«¤é¤½¤ì¤¾¤ì¸÷¤òÅö¤Æ¤Æ¤ß¤Æ¡¢¤É¤Î¤è¤¦¤Ë¸«¤¨¤ë¤«¤ò³Î¤«¤á¤Þ¤¹¡£
¡Î¥á¥â¡Ï
£²¡Ý£±¡¥¿§»ö»Õ¡¡¡Ý¿§¤ÎÀ­¼Á¤Î³Îǧ
¡¦¸÷¤Î»°¸¶¿§¤ò¸«¤Æ¤ß¤Þ¤¹¡£
¡¦¿§¤Ë¤è¤Ã¤ÆÂоÝʪ¤¬¤É¤¦¸«¤¨¤ë¤«¤ò³Î¤«¤á¤Þ¤¹¡£
¡¦¥Û¥ê¥¾¥ó¥È¤Î¸ú²Ì¡¢¥¿¥Ã¥Á¥é¥¤¥È¤Î¸ú²Ì¤ò¸«¤Æ¤ß¤Þ¤¹¡£

¡Î¥á¥â¡Ï¡Ý¡Ý¡Ý¡Ý¡Ý¡Ý¡Ý¡Ý¡Ý¡ÖÉñÂæ¾ÈÌÀ¡×½ªÎ»¡Ý¡Ý¡Ý¡Ý¡Ý¡Ý¡Ý¡Ý¡Ý¡Ý